LIE918B

FCC ID

Equipment:

Well Tech Toys Company Ltd 918B

Flat 818, 8/F, Blk B, Sun Fung Centre 88 Kwok Shui Road,, Tsuen Wan, N/A N/A Hong Kong

Application
Frequency Range
Final Action Date
Granted
q9qRIIZ3ZsO9ExeXSehLqQ==
49.86-49.86
2003-09-03
APPROVED
File NameDocument TypeDateDirect
ManualUsers Manual 2003-09-03 00:00:00 pdf
Test Setup PhotosTest Setup Photos 2003-09-03 00:00:00 pdf
Bandwidth plotsTest Report 2003-09-03 00:00:00 pdf
Test ReportTest Report 2003-09-03 00:00:00 pdf
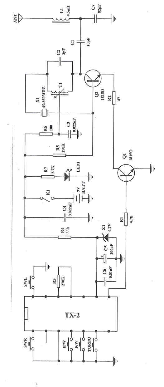
Schematic diagramjpeg 2003-09-03 00:00:00 jpeg
Operational DescriptionOperational Description 2003-09-03 00:00:00 pdf
Internal PhotosInternal Photos 2003-09-03 00:00:00 pdf
FCC ID label format and locationID Label/Location Info 2003-09-03 00:00:00 pdf
External PhotosExternal Photos 2003-09-03 00:00:00 pdf
TCB Q and ACover Letter(s) 2003-09-03 00:00:00 pdf
Block DiagramBlock Diagram 2003-09-03 00:00:00 pdf

Application Details:

EquipmentToy Car Remote Controller
FRN0007423445
Grantee CodeLIE
Product Code918B
Applicant BusinessWell Tech Toys Company Ltd
Business AddressFlat 818, 8/F, Blk B, Sun Fung Centre 88 Kwok Shui Road,, Tsuen Wan,N/A Hong Kong
TCB ScopeA1: Low Power Transmitters below 1 GHz (except Spread Spectrum), Unintentional Radiators, EAS (Part 11) & Consumer ISM devices
TCB Email[email protected]
ApplicantQueenie Yau –
Applicant Phone
Applicant Fax
Applicant Email
Applicant MailStop
Test FirmAdvanced Compliance Laboratory
Test Firm ContactWei Li
Test Firm Phone
Test Firm Fax908-927-0728
Test Firm Email[email protected]
Certified ByWei Li – Manager ( AGENT )

© 2025 FCC.report
This site is not affiliated with or endorsed by the FCC