LIE906B

FCC ID

Equipment:

Well Tech Toys Company Ltd 906B

Flat 818, 8/F, Blk B, Sun Fung Centre 88 Kwok Shui Road,, Tsuen Wan, N/A N/A Hong Kong

Application
Frequency Range
Final Action Date
Granted
WzHwhMLuzDhPLv0L4ctiaw==
49.86-49.86
2002-07-18
APPROVED
File NameDocument TypeDateDirect
User Manual 3 of 3Users Manual 2002-07-18 00:00:00 jpeg
User Manual 2 of 3Users Manual 2002-07-18 00:00:00 jpeg
User Manual 1 of 3Users Manual 2002-07-18 00:00:00 jpeg
Test Setup PhotosTest Setup Photos 2002-07-18 00:00:00 pdf
Bandedgejpeg 2002-07-18 00:00:00 jpeg
Test ReportTest Report 2002-07-18 00:00:00 pdf
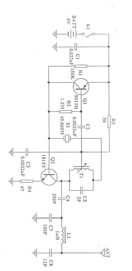
Schematic diagramjpeg 2002-07-18 00:00:00 jpeg
Operational Descriptionjpeg 2002-07-18 00:00:00 jpeg
Internal PhotosInternal Photos 2002-07-18 00:00:00 pdf
FCC Id label format and locationjpeg 2002-07-18 00:00:00 jpeg
External PhotosExternal Photos 2002-07-18 00:00:00 pdf
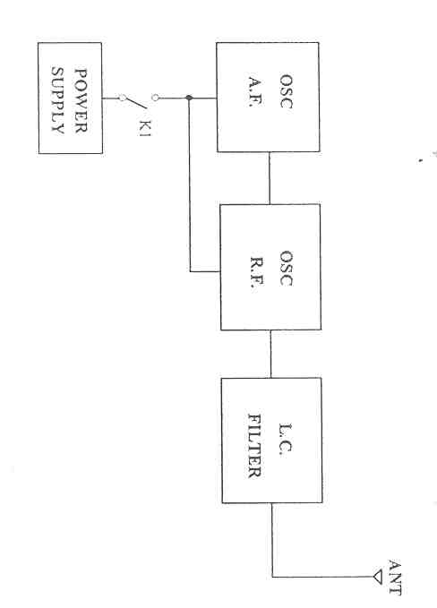
Block Diagramjpeg 2002-07-18 00:00:00 jpeg

Application Details:

EquipmentRemote Control Toy Transmitter
FRN0007423445
Grantee CodeLIE
Product Code906B
Applicant BusinessWell Tech Toys Company Ltd
Business AddressFlat 818, 8/F, Blk B, Sun Fung Centre 88 Kwok Shui Road,, Tsuen Wan,N/A Hong Kong
TCB ScopeA1: Low Power Transmitters below 1 GHz (except Spread Spectrum), Unintentional Radiators, EAS (Part 11) & Consumer ISM devices
TCB Email[email protected]
ApplicantQueenie Yau –
Applicant Phone
Applicant Fax
Applicant Email
Applicant MailStop
Test FirmAdvanced Compliance Laboratory
Test Firm ContactWei Li
Test Firm Phone
Test Firm Fax908-927-0728
Test Firm Email[email protected]
Certified ByWei Li – Manager ( AGENT )

© 2025 FCC.report
This site is not affiliated with or endorsed by the FCC