Toggle navigation
FCC.report
IBFS
ELS
FCC ID
Contact
About
L9G47191R
FCC ID
Equipment:
Artin Industrial Co Ltd 47191R
Suites 1509-11, 15/F., Sun Life Tower, The Gateway, 15 Canton Road, Tsim Sha Tsui,, Kowloon, Hong kong, N/A N/A China
FCC.report
›
FCC ID
›
Artin Industrial Co Ltd
›
L9G47191R
Application
Frequency Range
Final Action Date
Granted
W15i2/0vFQNIWPO90FiOQA==
49.82-49.9
2000-06-19
APPROVED
File Name
Document Type
Date
Direct
operation manual
Operational Description
2000-06-19 00:00:00
pdf
PCB top view
Internal Photos
2000-06-19 00:00:00
jpeg
PCB bottom view
Internal Photos
2000-06-19 00:00:00
jpeg
users manual
Users Manual
2000-06-19 00:00:00
pdf
photos 02
Test Setup Photos
2000-06-19 00:00:00
jpeg
photos 01
Test Setup Photos
2000-06-19 00:00:00
jpeg
report result
Test Report
2000-06-19 00:00:00
pdf
schematics
Schematics
2000-06-19 00:00:00
pdf
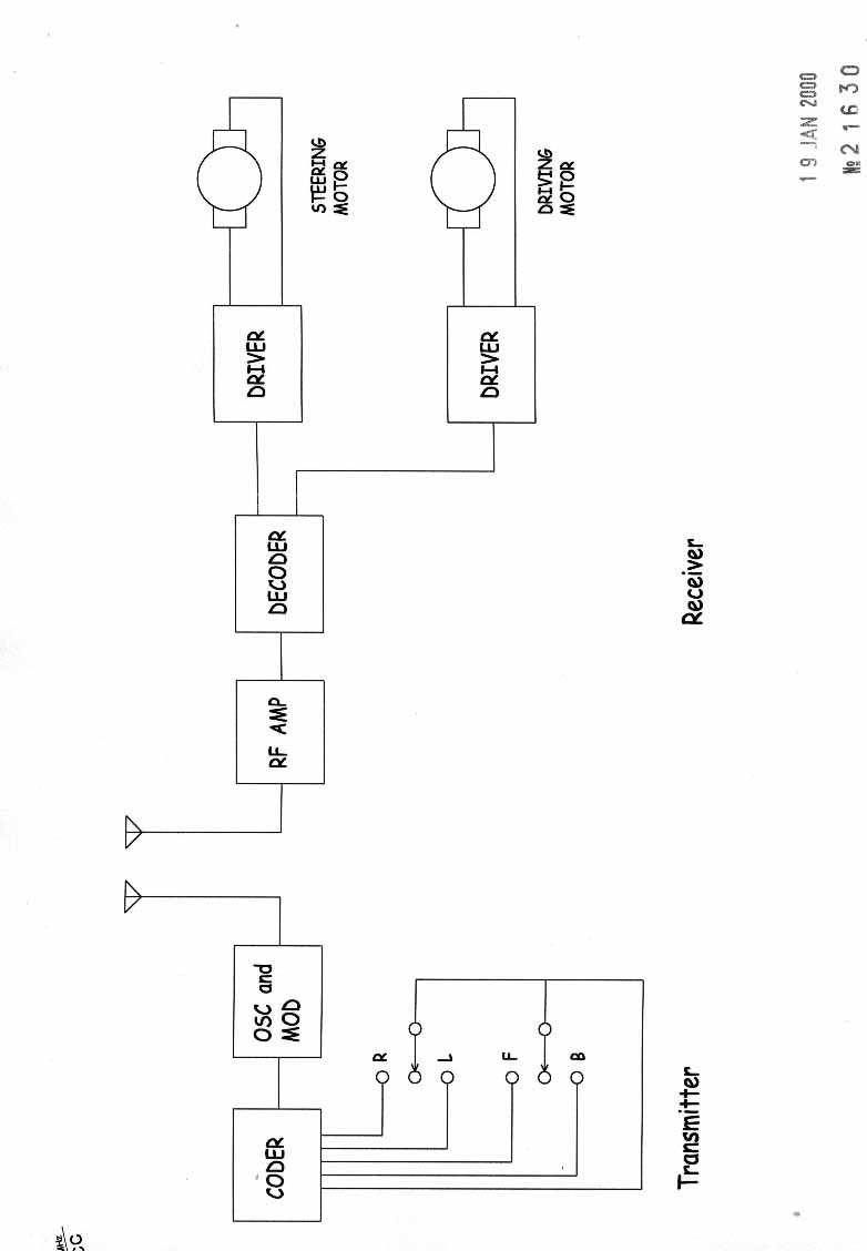
block diagram
Block Diagram
2000-06-19 00:00:00
jpeg
top view
External Photos
2000-06-19 00:00:00
jpeg
bottom view
External Photos
2000-06-19 00:00:00
jpeg
label location
ID Label/Location Info
2000-06-19 00:00:00
jpeg
ID Label
ID Label/Location Info
2000-06-19 00:00:00
jpeg
Application Details:
Equipment
R/C Toy Receiver
FRN
0018034330
Grantee Code
L9G
Product Code
47191R
Applicant Business
Artin Industrial Co Ltd
Business Address
Suites 1509-11, 15/F., Sun Life Tower, The Gateway, 15 Canton Road, Tsim Sha Tsui,, Kowloon, Hong kong,N/A China
TCB Scope
TCB Email
Applicant
Alfred Lee – QA Manager
Applicant Phone
Applicant Fax
(852) 3105 0702
Applicant Email
[email protected]
Applicant MailStop
Test Firm
International Elect. Cert. Centre
Test Firm Contact
Clement Li
Test Firm Phone
Test Firm Fax
852-2756-4480
Test Firm Email
[email protected]
Certified By
Elvin K. B. – Director
© 2025 FCC.report
This site is not affiliated with or endorsed by the FCC