ixmcte630

FCC ID

Equipment:

Universal Scientific Industrial Co., Ltd. cte630

141, Lane 351, Sec. 1, Taiping Road,, Tsaotueng, Nantou, N/A N/A Taiwan

Application
Frequency Range
Final Action Date
Granted
H542s+Z3wahj5c0GpqkfgA==
0.75-0.75
2003-08-11
APPROVED
File NameDocument TypeDateDirect
manualUsers Manual 2003-08-11 00:00:00 pdf
test setup photosTest Setup Photos 2003-08-11 00:00:00 pdf
test reportTest Report 2003-08-11 00:00:00 pdf
schematicsSchematics 2003-08-11 00:00:00 pdf
operational descriptionOperational Description 2003-08-11 00:00:00 pdf
internal photosInternal Photos 2003-08-11 00:00:00 pdf
id label locationID Label/Location Info 2003-08-11 00:00:00 pdf
external photosExternal Photos 2003-08-11 00:00:00 pdf
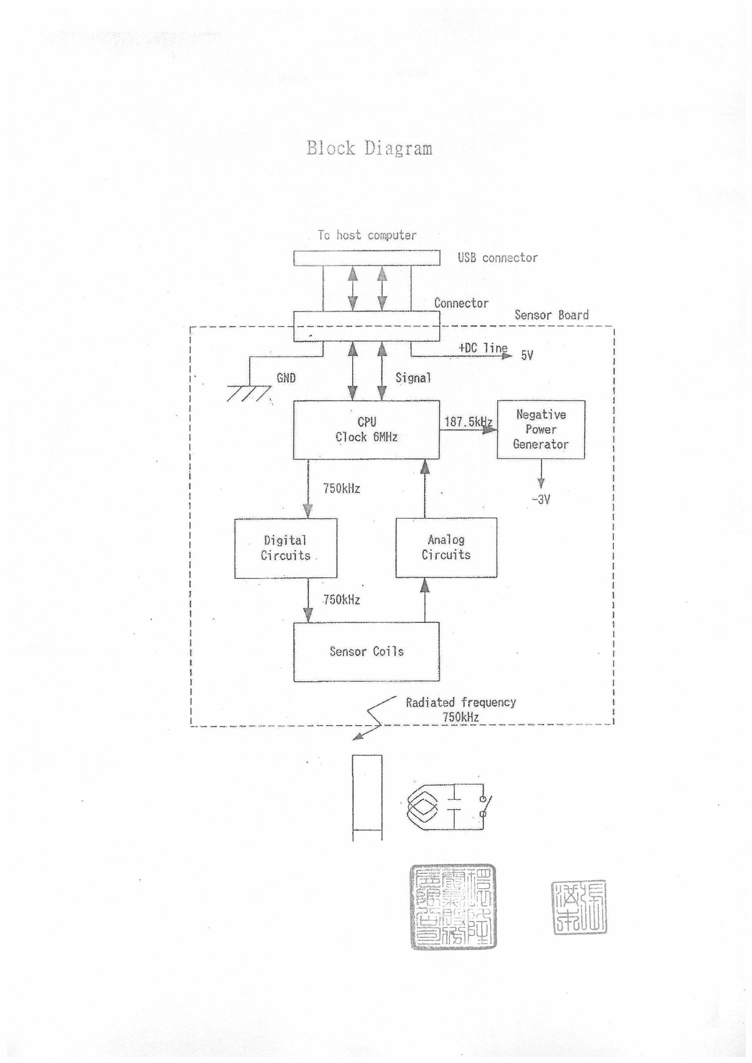
block diagramjpeg 2003-08-11 00:00:00 jpeg

Application Details:

EquipmentGraphire3 Tablet
FRN0007326382
Grantee CodeIXM
Product CodeCTE-630
Applicant BusinessUniversal Scientific Industrial Co., Ltd.
Business Address141, Lane 351, Sec. 1, Taiping Road, , Tsaotueng, Nantou,N/A Taiwan
TCB ScopeA1: Low Power Transmitters below 1 GHz (except Spread Spectrum), Unintentional Radiators, EAS (Part 11) & Consumer ISM devices
TCB Email[email protected]
ApplicantMartin Shih – Section Manager
Applicant Phone 2332
Applicant Fax886-49-2332061
Applicant Email[email protected]
Applicant MailStop
Test FirmSpectrum Research & Testing Lab.
Test Firm ContactLinda Chiang
Test Firm Phone
Test Firm Fax886-3-498-6528
Test Firm Email[email protected]
Certified ByChia Shih Yao – EMC Manager

© 2026 FCC.report
This site is not affiliated with or endorsed by the FCC