RSO8361

FCC ID

Equipment:

Bobco Technology Ltd. 8361

4 Hillwood Road,Hermes Commercial Bldg.,Suite 905 Tsim Sha Tsui, Kowloon, N/A N/A Hong Kong

Application
Frequency Range
Final Action Date
Granted
ffM0Syuc+P3qvWcLQLIpBg==
433.92-433.92
2004-03-09
APPROVED
File NameDocument TypeDateDirect
User ManualUsers Manual 2004-03-09 00:00:00 pdf
Setup PhotosTest Setup Photos 2004-03-09 00:00:00 pdf
Test ReportTest Report 2004-03-09 00:00:00 pdf
SchematicsSchematics 2004-03-09 00:00:00 native
Operational DescriptionOperational Description 2004-03-09 00:00:00 native
Internal PhotosInternal Photos 2004-03-09 00:00:00 pdf
FCC ID LabelID Label/Location Info 2004-03-09 00:00:00 pdf
External PhotosExternal Photos 2004-03-09 00:00:00 pdf
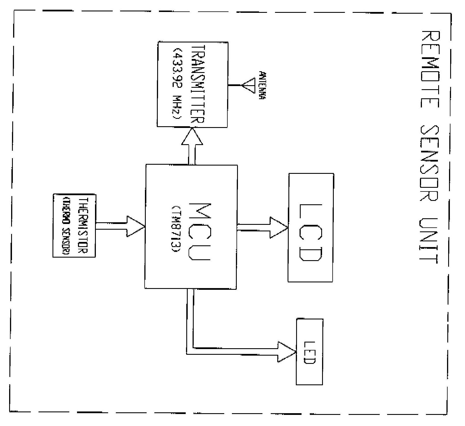
Block DiagramBlock Diagram 2004-03-09 00:00:00 native

Application Details:

EquipmentWireless Thermo Clock Transmitter
FRN0010199529
Grantee CodeRSO
Product Code8361
Applicant BusinessBobco Technology Ltd.
Business Address4 Hillwood Road,Hermes Commercial Bldg.,Suite 905 Tsim Sha Tsui, Kowloon,N/A Hong Kong
TCB ScopeA1: Low Power Transmitters below 1 GHz (except Spread Spectrum), Unintentional Radiators, EAS (Part 11) & Consumer ISM devices
TCB Email[email protected]
ApplicantK.Y. YIP – Admin
Applicant Phone
Applicant Fax85223713935
Applicant Email[email protected]
Applicant MailStop
Test FirmAdvanced Compliance Laboratory
Test Firm ContactWei Li
Test Firm Phone
Test Firm Fax9089270728
Test Firm Email[email protected]
Certified ByWei Li – Manager ( AGENT )

© 2026 FCC.report
This site is not affiliated with or endorsed by the FCC