PCMAR200

FCC ID

Equipment:

Hyun Won Inc. AR200

#74-2, Shinchun-Dong, Dong-Ku, Daegu-City, N/A 701-020 South Korea

Application
Frequency Range
Final Action Date
Granted
hsI5UtI6qpqxAC/jc4JVWw==
11.2896-11.2896
2000-12-29
FAILED
iR6UiTw85HTEJa/XTwCe/g==
-
2000-12-22
APPROVED
File NameDocument TypeDateDirect
FCC ID Location photo and informationID Label/Location Info 2000-12-22 00:00:00 pdf
photos of the test setupTest Setup Photos 2000-12-22 00:00:00 pdf
Duo Aria Users ManualUsers Manual 2000-12-22 00:00:00 pdf
Test Report including Test Setup PhotosTest Report 2000-12-22 00:00:00 pdf
3 schematicsSchematics 2000-12-22 00:00:00 pdf
List of Components and PartsParts List/Tune Up Info 2000-12-22 00:00:00 pdf
3 internal photosInternal Photos 2000-12-22 00:00:00 pdf
3 external photosExternal Photos 2000-12-22 00:00:00 pdf
Agent Auth and Anti Drugjpeg 2000-12-22 00:00:00 jpeg
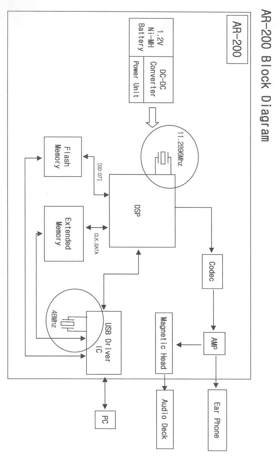
AR200 block diagramjpeg 2000-12-22 00:00:00 jpeg

Application Details:

EquipmentDuo Aria Multi-Format Digital Player
FRN0013214366
Grantee CodePCM
Product CodeAR200
Applicant BusinessHyun Won Inc.
Business Address#74-2, Shinchun-Dong, Dong-Ku , Daegu-City,N/A South Korea 701-020
TCB ScopeA1: Low Power Transmitters below 1 GHz (except Spread Spectrum), Unintentional Radiators, EAS (Part 11) & Consumer ISM devices
TCB Email[email protected]
ApplicantKi-jung Lee – Assistant Manager
Applicant Phone
Applicant Fax82-53-743-2112
Applicant Email[email protected]
Applicant MailStop
Test FirmIST Co., Ltd
Test Firm ContactBong Kyoon Bae
Test Firm Phone
Test Firm Fax82-31-333-4094
Test Firm Email@.com
Certified ByTaek - Kyun Shin – Manager of Digital Developement Group

© 2026 FCC.report
This site is not affiliated with or endorsed by the FCC