P7KDMP100R

FCC ID

Equipment:

Diasonic Technology Co Ltd DMP100R

321-43, Suksu-Dong, Manan-Ku, Anyang-City, Kyungki-Do, N/A 439-040 South Korea

Application
Frequency Range
Final Action Date
Granted
Nx6xkBK7WUGUX14YaaDjWw==
-
2002-09-05
APPROVED
File NameDocument TypeDateDirect
User ManualUsers Manual 2002-09-05 00:00:00 pdf
Test Setup PhotosTest Setup Photos 2002-09-05 00:00:00 pdf
Test ReportTest Report 2002-09-05 00:00:00 pdf
Internal PhotosInternal Photos 2002-09-05 00:00:00 pdf
FCC ID label format and locationID Label/Location Info 2002-09-05 00:00:00 pdf
External PhotosExternal Photos 2002-09-05 00:00:00 pdf
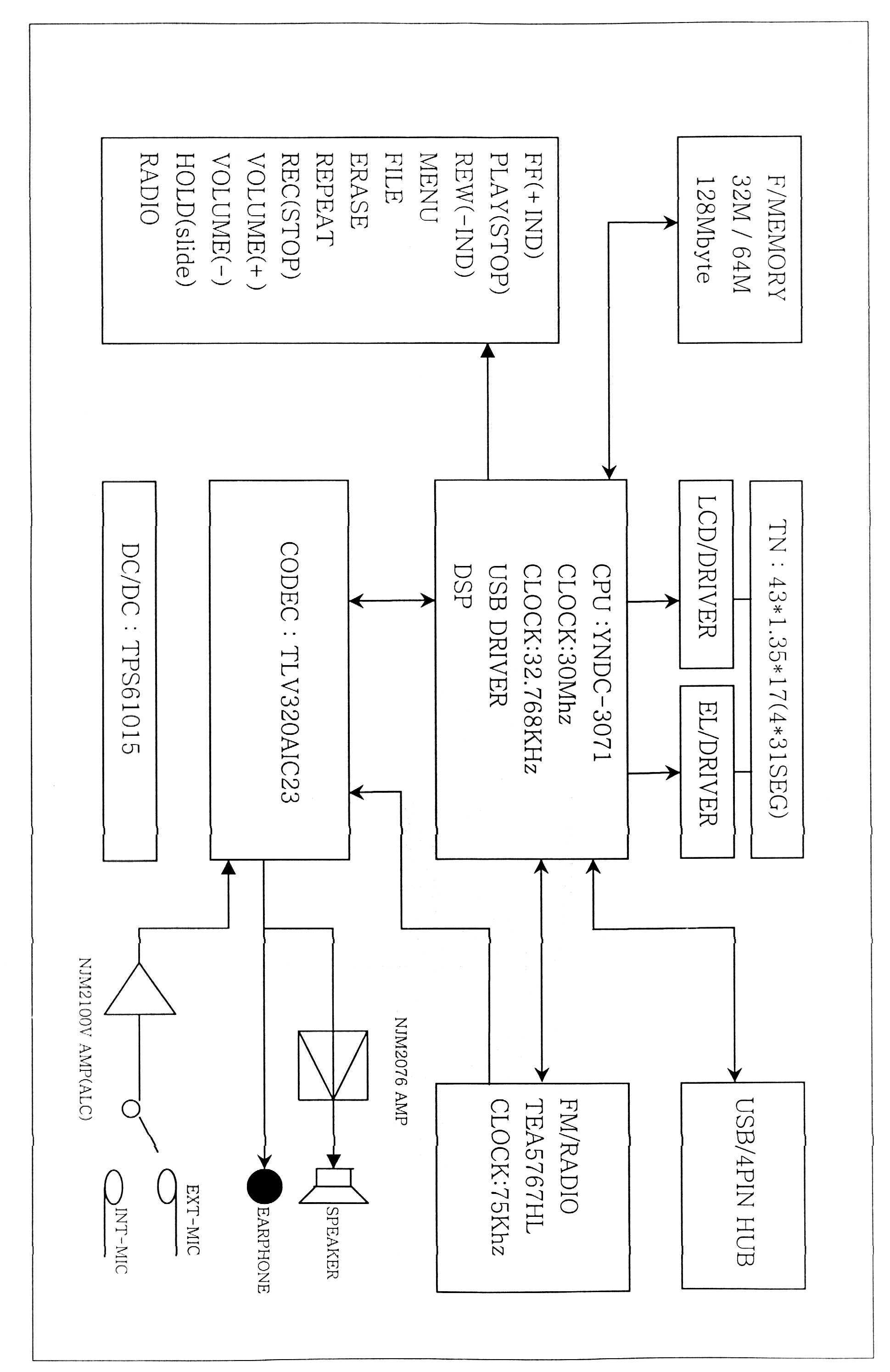
Block Diagramjpeg 2002-09-05 00:00:00 jpeg

Application Details:

EquipmentMP3 Player
FRN0006375737
Grantee CodeP7K
Product CodeDMP100R
Applicant BusinessDiasonic Technology Co Ltd
Business Address321-43, Suksu-Dong, Manan-Ku, Anyang-City , Kyungki-Do,N/A South Korea 439-040
TCB ScopeA1: Low Power Transmitters below 1 GHz (except Spread Spectrum), Unintentional Radiators, EAS (Part 11) & Consumer ISM devices
TCB Email[email protected]
ApplicantMin-Hwan Kim – Manager
Applicant Phone
Applicant Fax
Applicant Email[email protected]
Applicant MailStop
Test FirmONETECH Corp.
Test Firm ContactY. Kwon
Test Firm Phone
Test Firm Fax+82-347-766-2904
Test Firm Email[email protected]
Certified ByY.K. Kwon – Chief Engineer ( AGENT )

© 2026 FCC.report
This site is not affiliated with or endorsed by the FCC