Toggle navigation
FCC.report
IBFS
ELS
FCC ID
Contact
About
O9NPWRSCAN-HH
FCC ID
Equipment:
Datalogic ADC, Inc. PWRSCAN-HH
959 Terry Street, Eugene, OR 97402-9150 United States
FCC.report
›
FCC ID
›
Datalogic ADC, Inc.
›
O9NPWRSCAN-HH
Application
Frequency Range
Final Action Date
Granted
0PFYZYHIberDJ1HXUF+Zqg==
904.29-924.86
2000-12-05
APPROVED
File Name
Document Type
Date
Direct
Cover Letters Summary of Responses to Additional Requests
Cover Letter(s)
2000-12-05 00:00:00
pdf
Cover Letters revised confidentiality letter
Cover Letter(s)
2000-12-05 00:00:00
pdf
Cover Letters Explanation letter of label placement
Cover Letter(s)
2000-12-05 00:00:00
pdf
Cover Letters authorization letter
Cover Letter(s)
2000-12-05 00:00:00
native
Operational Description Operate
Operational Description
2000-12-05 00:00:00
pdf
Internal Photos FCC Handheld Top Assembly View
Internal Photos
2000-12-05 00:00:00
native
Internal Photos FCC Handheld Processor PCB Top View
Internal Photos
2000-12-05 00:00:00
native
Internal Photos FCC Handheld Processor PCB Bottom View
Internal Photos
2000-12-05 00:00:00
native
Internal Photos FCC Handheld Processor and IR PCB Top View
Internal Photos
2000-12-05 00:00:00
native
Internal Photos FCC Handheld Mirror Assembly Top View
Internal Photos
2000-12-05 00:00:00
native
Internal Photos FCC Handheld Mirror Assembly Bottom View
Internal Photos
2000-12-05 00:00:00
native
Internal Photos FCC Handheld IR PCB Top View
Internal Photos
2000-12-05 00:00:00
native
Internal Photos FCC Handheld IR PCB Bottom View
Internal Photos
2000-12-05 00:00:00
native
Internal Photos FCC Handheld Bottom2 View
Internal Photos
2000-12-05 00:00:00
native
Internal Photos FCC Handheld Wireless PCB Top View
Internal Photos
2000-12-05 00:00:00
native
Internal Photos FCC Handheld Wireless PCB Bottom View
Internal Photos
2000-12-05 00:00:00
native
Internal Photos FCC Handheld Wireless Assembly Top View
Internal Photos
2000-12-05 00:00:00
native
Users Manual R44 2114 manual
Users Manual
2000-12-05 00:00:00
pdf
Users Manual Marketing Literature
Users Manual
2000-12-05 00:00:00
pdf
Test Setup Photos
Test Setup Photos
2000-12-05 00:00:00
pdf
test report
Test Report
2000-12-05 00:00:00
pdf
Block Diagram SPEC SHEET
Block Diagram
2000-12-05 00:00:00
pdf
Block Diagram hhh flowchart
Block Diagram
2000-12-05 00:00:00
jpeg
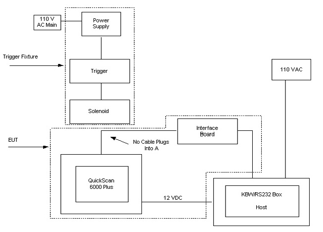
Block Diag QuickScan 6000
Block Diagram
2000-12-05 00:00:00
jpeg
Block Dia Power Scan
Block Diagram
2000-12-05 00:00:00
jpeg
Block Dia Gang Charger
Block Diagram
2000-12-05 00:00:00
jpeg
Block Diagram 4 2348
Block Diagram
2000-12-05 00:00:00
jpeg
External Photos FCC Handheld Top View
External Photos
2000-12-05 00:00:00
native
External Photos FCC Handheld Right View
External Photos
2000-12-05 00:00:00
native
External Photos FCC Handheld Left View
External Photos
2000-12-05 00:00:00
native
External Photos FCC Handheld Front View
External Photos
2000-12-05 00:00:00
native
External Photos FCC Handheld Bottom View
External Photos
2000-12-05 00:00:00
native
External Photos FCC Handheld Back View
External Photos
2000-12-05 00:00:00
native
ID Label Revised Label 6 0646A
ID Label/Location Info
2000-12-05 00:00:00
pdf
ID Label Label Placement
ID Label/Location Info
2000-12-05 00:00:00
pdf
ID Label Label 6 0644
ID Label/Location Info
2000-12-05 00:00:00
native
Description
Operational Description
N/A
Operational Description R96 4932
Operational Description
N/A
Schematics 1 0393x71
Schematics
N/A
Schematics 1 0440x1
Schematics
N/A
Application Details:
Equipment
Powerscan RF Handheld Scanner
FRN
0016179699
Grantee Code
O9N
Product Code
PWRSCAN-HH
Applicant Business
Datalogic ADC, Inc.
Business Address
959 Terry Street , Eugene,Oregon United States 97402-9150
TCB Scope
A1: Low Power Transmitters below 1 GHz (except Spread Spectrum), Unintentional Radiators, EAS (Part 11) & Consumer ISM devices
TCB Email
[email protected]
Applicant
Ken Wyman – Product Regulatory Engineer
Applicant Phone
Applicant Fax
541-345-7140
Applicant Email
[email protected]
Applicant MailStop
Test Firm
CKC Laboratories, Inc.
Test Firm Contact
Steve Behm
Test Firm Phone
2221
Test Firm Fax
866-779-9776
Test Firm Email
[email protected]
Certified By
Joyce Walker – Report Department Manager
© 2026 FCC.report
This site is not affiliated with or endorsed by the FCC