Toggle navigation
FCC.report
IBFS
ELS
FCC ID
Contact
About
O2MISE
FCC ID
Equipment:
ISE Telecommunication Co Ltd ISE
35-7, GUJANG-RI, PALTAN-MYEON,, HWASEONG-SHI, GYEONGGI-DO,, N/A 445-911 South Korea
FCC.report
›
FCC ID
›
ISE Telecommunication Co Ltd
›
O2MISE
Application
Frequency Range
Final Action Date
Granted
xfEDSO4t7hifTgmmMztteg==
0.043-0.043
2000-06-02
APPROVED
File Name
Document Type
Date
Direct
internal photos
Internal Photos
2000-06-02 00:00:00
pdf
test report
Test Report
2000-06-02 00:00:00
pdf
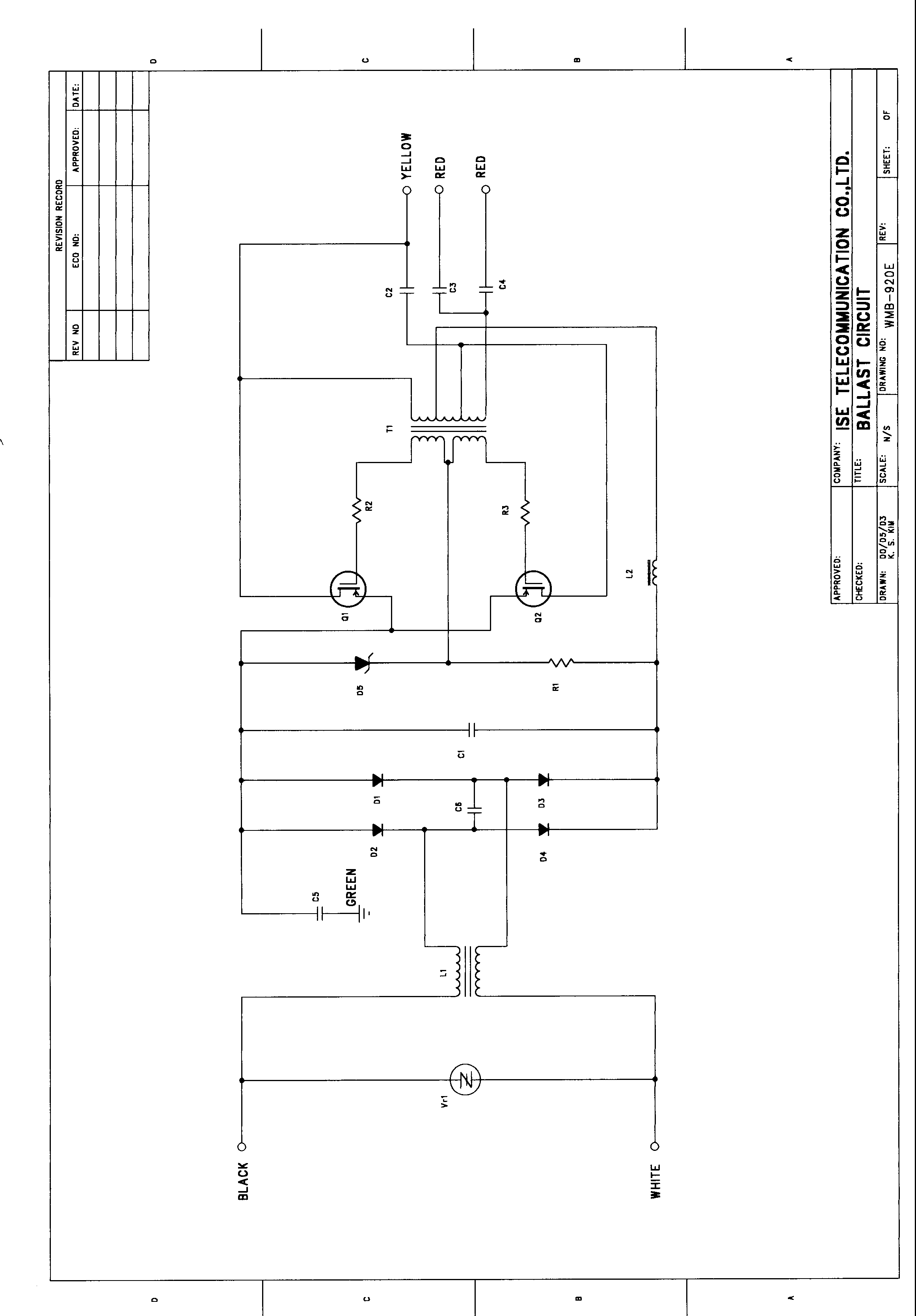
schematics
Schematics
2000-06-02 00:00:00
jpeg
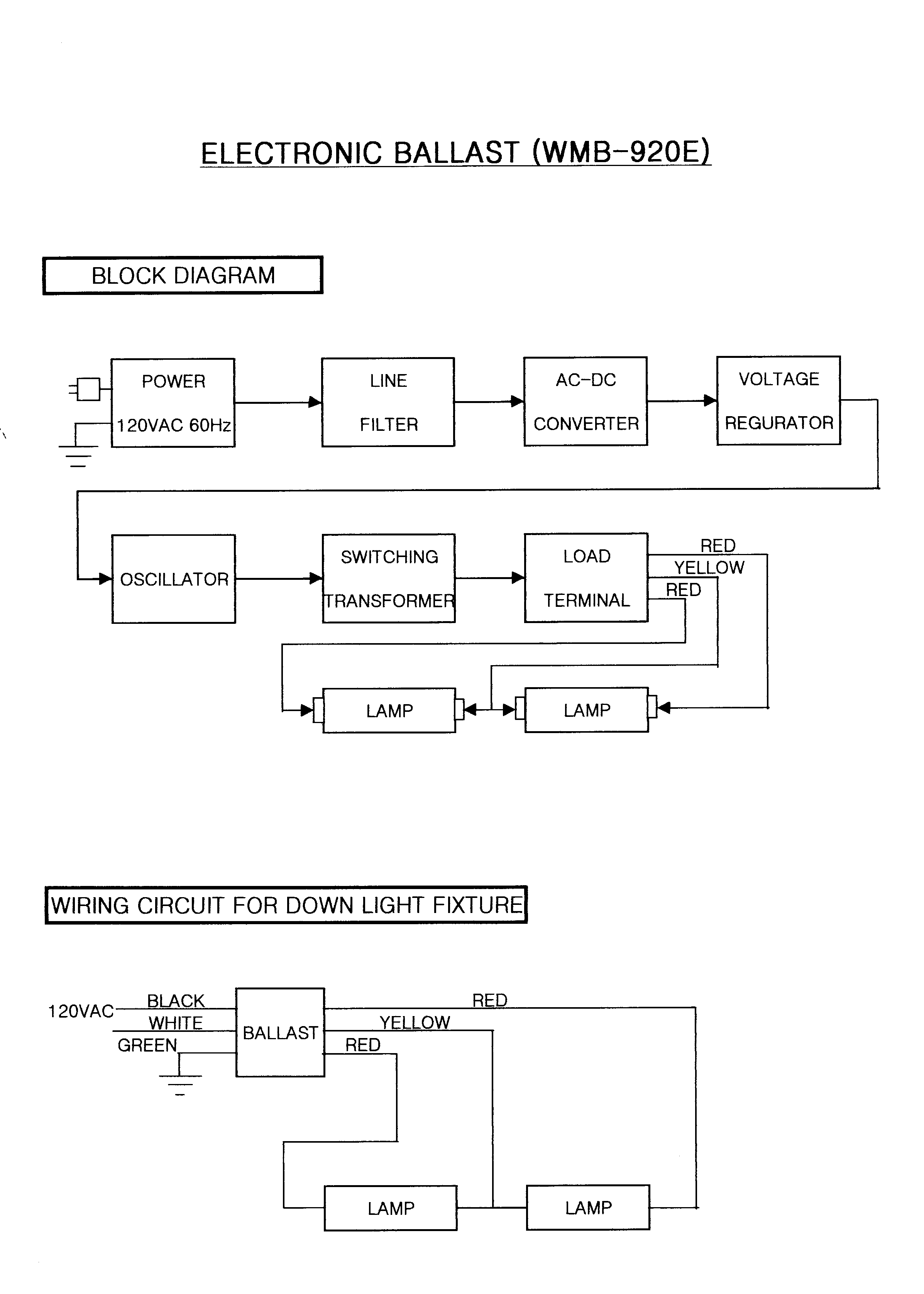
block diagram
Block Diagram
2000-06-02 00:00:00
jpeg
external photos
External Photos
2000-06-02 00:00:00
pdf
label
ID Label/Location Info
2000-06-02 00:00:00
pdf
Application Details:
Equipment
Electric Ballast
FRN
0007038524
Grantee Code
O2M
Product Code
ISE
Applicant Business
ISE Telecommunication Co Ltd
Business Address
35-7, GUJANG-RI, PALTAN-MYEON, , HWASEONG-SHI, GYEONGGI-DO,,N/A South Korea 445-911
TCB Scope
TCB Email
Applicant
Jang-Seo Park – Manager
Applicant Phone
Applicant Fax
82-32-354-1749
Applicant Email
[email protected]
Applicant MailStop
Test Firm
Korea Testing Laboratory
Test Firm Contact
Jeong-Min Kim
Test Firm Phone
Test Firm Fax
82-2-860-1468
Test Firm Email
[email protected]
Certified By
Chong-Su Kim – Chairman of Board
© 2026 FCC.report
This site is not affiliated with or endorsed by the FCC