Toggle navigation
FCC.report
IBFS
ELS
FCC ID
Contact
About
NGVAWV35XS
FCC ID
Equipment:
Airwave Technologies Inc AWV35XS
4F, No 9, Industry E. Rd. IX Science-Based Industrial Park, Hsinchu, N/A N/A Taiwan
FCC.report
›
FCC ID
›
Airwave Technologies Inc
›
NGVAWV35XS
Application
Frequency Range
Final Action Date
Granted
O928R5g+AA2W19l+5e4iDg==
2414.0-2414.0
2000-03-14
APPROVED
O928R5g+AA2W19l+5e4iDg==
2432.0-2432.0
2000-03-14
APPROVED
O928R5g+AA2W19l+5e4iDg==
2450.0-2450.0
2000-03-14
APPROVED
O928R5g+AA2W19l+5e4iDg==
2468.0-2468.0
2000-03-14
APPROVED
File Name
Document Type
Date
Direct
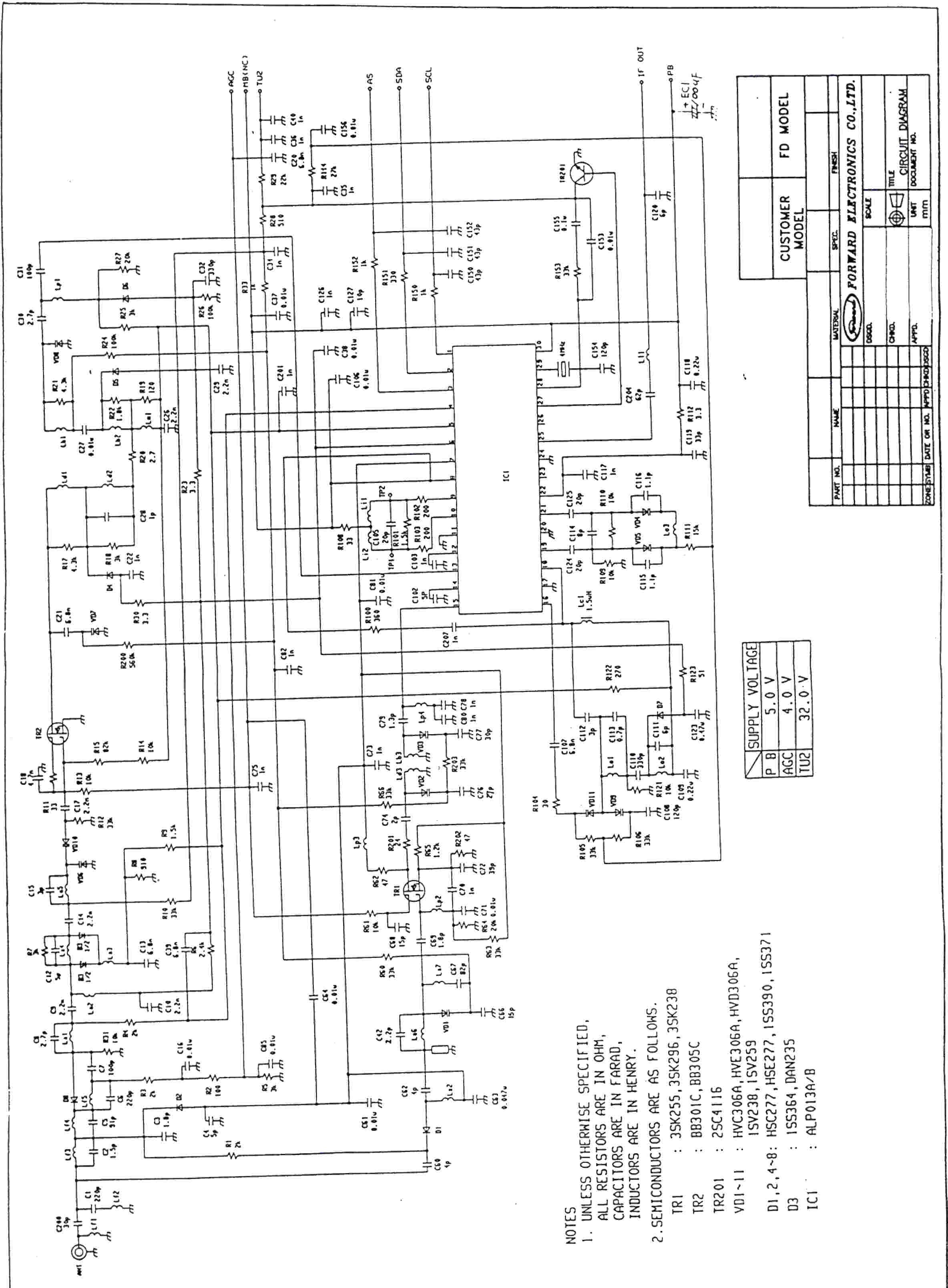
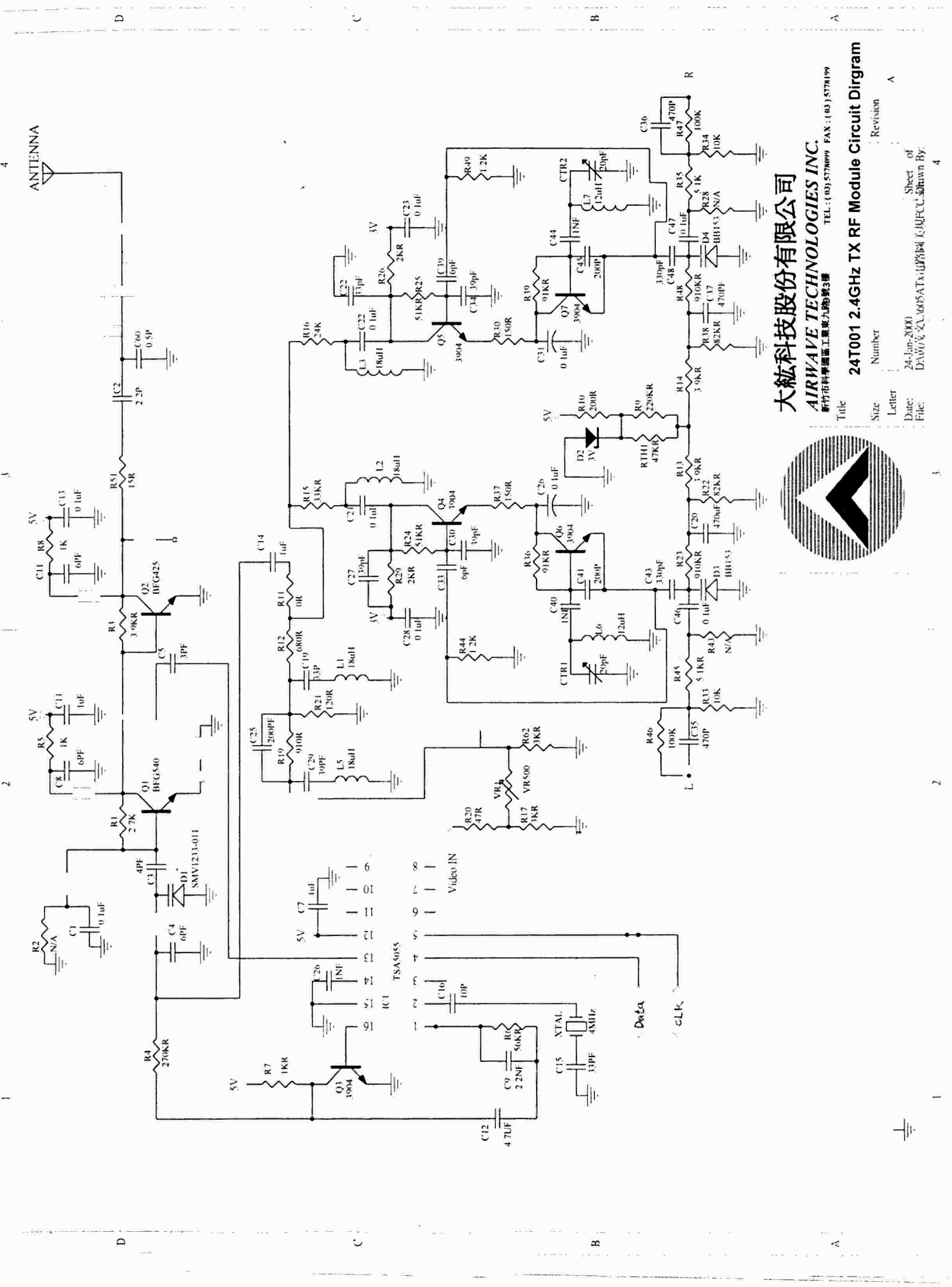
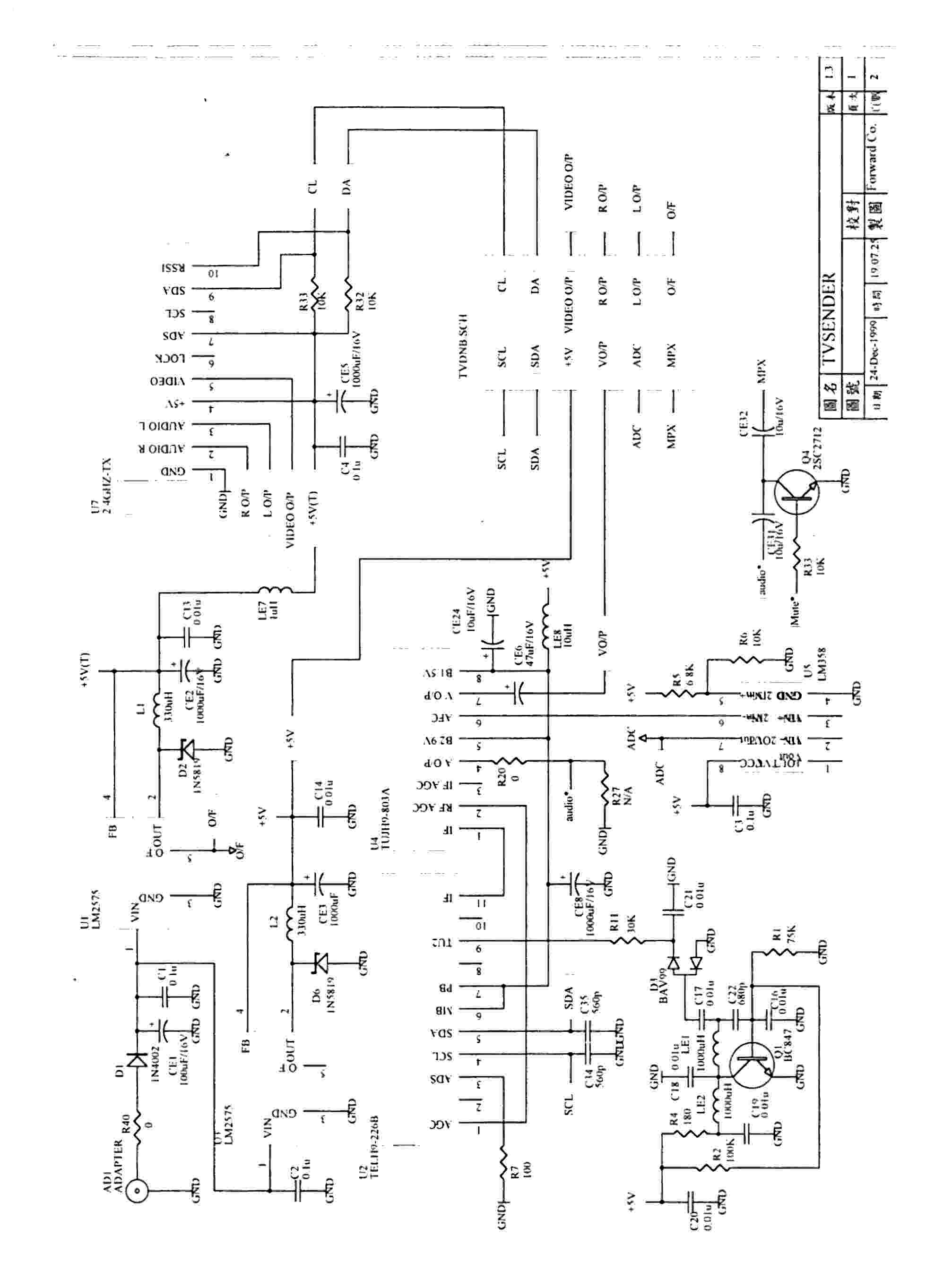
circuit diagram 06
Schematics
2000-03-14 00:00:00
jpeg
circuit diagram 05
Schematics
2000-03-14 00:00:00
jpeg
circuit diagram 04
Schematics
2000-03-14 00:00:00
jpeg
circuit diagram 03
Schematics
2000-03-14 00:00:00
jpeg
circuit diagram 02
Schematics
2000-03-14 00:00:00
jpeg
circuit diagram 01
Schematics
2000-03-14 00:00:00
jpeg
radiation test setup photo 02
Test Setup Photos
2000-03-14 00:00:00
jpeg
radiation test setup photo 01
Test Setup Photos
2000-03-14 00:00:00
jpeg
conduction test setup photo 02
Test Setup Photos
2000-03-14 00:00:00
jpeg
conduction test setup photo 01
Test Setup Photos
2000-03-14 00:00:00
jpeg
user manual 06
Users Manual
2000-03-14 00:00:00
jpeg
user manual 05
Users Manual
2000-03-14 00:00:00
jpeg
user manual 04
Users Manual
2000-03-14 00:00:00
jpeg
user manual 03
Users Manual
2000-03-14 00:00:00
jpeg
user manual 02
Users Manual
2000-03-14 00:00:00
jpeg
user manual 01
Users Manual
2000-03-14 00:00:00
jpeg
operational description
Operational Description
2000-03-14 00:00:00
pdf
authoriztion letter
Cover Letter(s)
2000-03-14 00:00:00
pdf
fcc id label location information
ID Label/Location Info
2000-03-14 00:00:00
jpeg
test report appendix 2 band edge ploted data02
Test Report
2000-03-14 00:00:00
jpeg
test report appendix 2 band edge ploted data01
Test Report
2000-03-14 00:00:00
jpeg
test report appendix 1 conducted emission ploted data06
Test Report
2000-03-14 00:00:00
jpeg
test report appendix 1 conducted emission ploted data05
Test Report
2000-03-14 00:00:00
jpeg
test report appendix 1 conducted emission ploted data04
Test Report
2000-03-14 00:00:00
jpeg
test report appendix 1 conducted emission ploted data03
Test Report
2000-03-14 00:00:00
jpeg
test report appendix 1 conducted emission ploted data02
Test Report
2000-03-14 00:00:00
jpeg
test report appendix 1 conducted emission ploted data01
Test Report
2000-03-14 00:00:00
jpeg
connection of antenna
Internal Photos
2000-03-14 00:00:00
jpeg
outlook of IF unit
Internal Photos
2000-03-14 00:00:00
jpeg
outlook of tuner box
Internal Photos
2000-03-14 00:00:00
jpeg
rear view of RF module
Internal Photos
2000-03-14 00:00:00
jpeg
front view of RF module
Internal Photos
2000-03-14 00:00:00
jpeg
rear view of eut
External Photos
2000-03-14 00:00:00
jpeg
front view of eut
External Photos
2000-03-14 00:00:00
jpeg
solder view of catv tuner pcb
Internal Photos
2000-03-14 00:00:00
jpeg
component view of catv tuner pcb
Internal Photos
2000-03-14 00:00:00
jpeg
bottom view of catv tuner
Internal Photos
2000-03-14 00:00:00
jpeg
top view of catv tuner
Internal Photos
2000-03-14 00:00:00
jpeg
solder view of 433 mhz receiver pcb
Internal Photos
2000-03-14 00:00:00
jpeg
component view of 433 mhz receiver pcb
Internal Photos
2000-03-14 00:00:00
jpeg
433 mhz receiver module
Internal Photos
2000-03-14 00:00:00
jpeg
component view of receiver module
Internal Photos
2000-03-14 00:00:00
jpeg
solder view of rf connecting board
Internal Photos
2000-03-14 00:00:00
jpeg
component view of rf connecting board
Internal Photos
2000-03-14 00:00:00
jpeg
solder view of rf pcb
Internal Photos
2000-03-14 00:00:00
jpeg
Component view of main pcb
Internal Photos
2000-03-14 00:00:00
jpeg
COMPONENT VIE W OF RF BOXS PCB
Internal Photos
2000-03-14 00:00:00
jpeg
INTERNAL VIE W OF RF BOX
Internal Photos
2000-03-14 00:00:00
jpeg
SOLDER VIEW OF DISPLAY BOARD
Internal Photos
2000-03-14 00:00:00
jpeg
COMPONENT VIEW OF DISPLAY BOARD
Internal Photos
2000-03-14 00:00:00
jpeg
SOLDER VIEW OF MAIN BOARD
Internal Photos
2000-03-14 00:00:00
jpeg
INTERNAL VIE W OF EUT
Internal Photos
2000-03-14 00:00:00
jpeg
front view of rb box
Internal Photos
2000-03-14 00:00:00
jpeg
bottom view of eut
Internal Photos
2000-03-14 00:00:00
jpeg
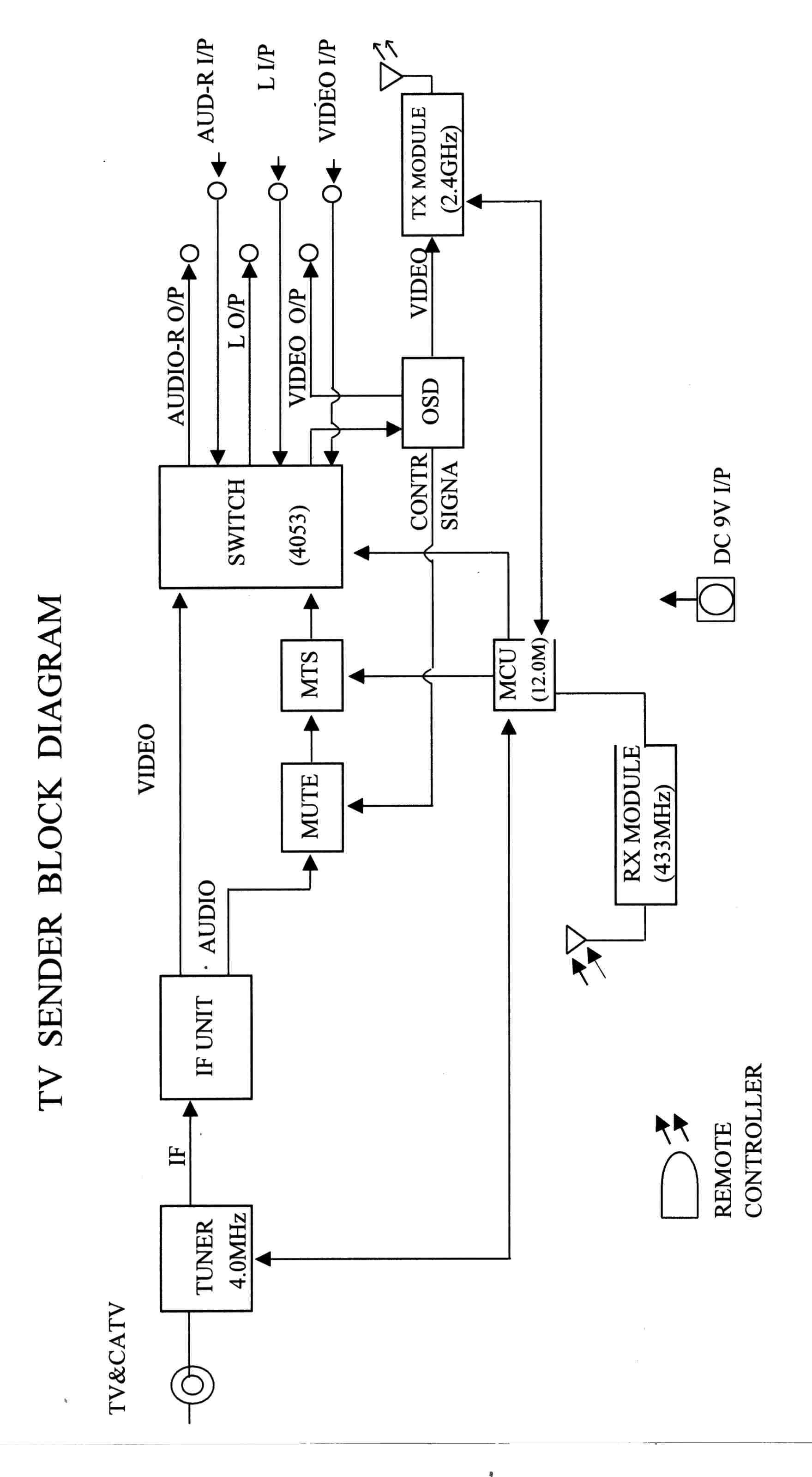
block diagram
Block Diagram
2000-03-14 00:00:00
jpeg
test report
Test Report
2000-03-14 00:00:00
pdf
Application Details:
Equipment
CATV Sender
FRN
0008778128
Grantee Code
NGV
Product Code
AWV35XS
Applicant Business
Airwave Technologies Inc
Business Address
4F, No 9, Industry E. Rd. IX Science-Based Industrial Park, Hsinchu,N/A Taiwan
TCB Scope
TCB Email
Applicant
Tzu-Hung Chen – President
Applicant Phone
Applicant Fax
886 3 577-8199
Applicant Email
[email protected]
Applicant MailStop
Test Firm
Electronics Testing Center, Taiwan
Test Firm Contact
Will Yauo
Test Firm Phone
Test Firm Fax
886-3-3280034
Test Firm Email
[email protected]
Certified By
JEFF CHUANG – EMI ENGINEER
© 2026 FCC.report
This site is not affiliated with or endorsed by the FCC