NGVAWV326R

FCC ID

Equipment:

Airwave Technologies Inc AWV326R

4F, No 9, Industry E. Rd. IX Science-Based Industrial Park, Hsinchu, N/A N/A Taiwan

Application
Frequency Range
Final Action Date
Granted
tGTVPdIJU/VHfivwJcIO+A==
433.94-433.94
2000-04-17
APPROVED
File NameDocument TypeDateDirect
operation descriptionOperational Description 2000-04-17 00:00:00 pdf
authorization letterCover Letter(s) 2000-04-17 00:00:00 jpeg
rear view of adaptorExternal Photos 2000-04-17 00:00:00 jpeg
front view of adaptorExternal Photos 2000-04-17 00:00:00 jpeg
bottom view of eutExternal Photos 2000-04-17 00:00:00 jpeg
rear view of eutExternal Photos 2000-04-17 00:00:00 jpeg
front view of eutExternal Photos 2000-04-17 00:00:00 jpeg
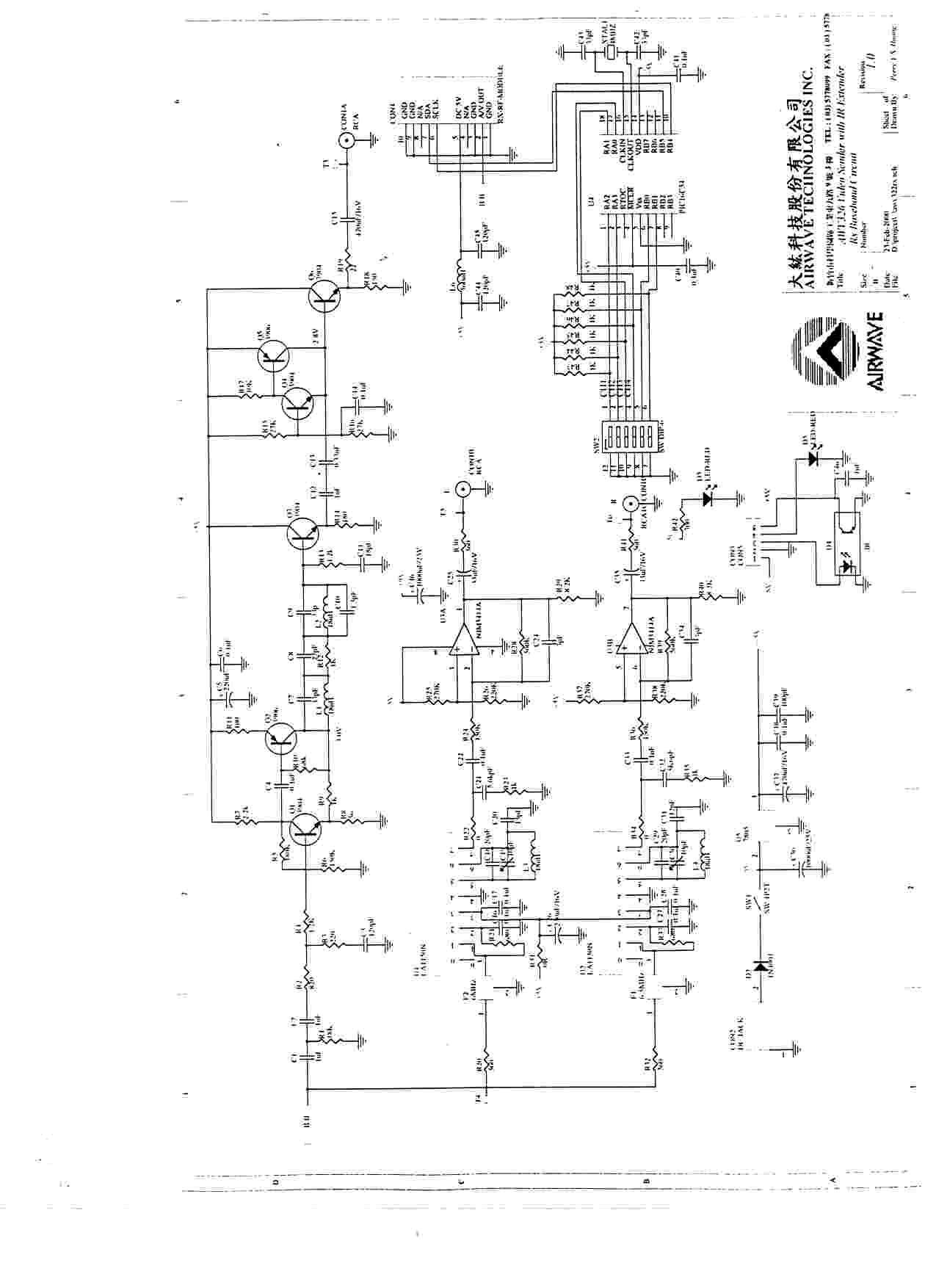
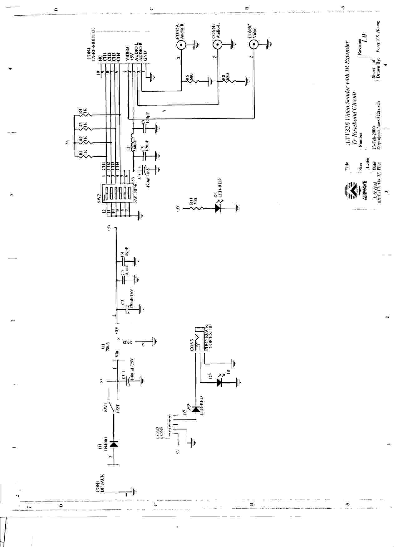
circuit diagram 2Schematics 2000-04-17 00:00:00 jpeg
circuit diagram 1Schematics 2000-04-17 00:00:00 jpeg
radiation setup photo 2Test Setup Photos 2000-04-17 00:00:00 jpeg
radiation setup photo 1Test Setup Photos 2000-04-17 00:00:00 jpeg
conduction setup photo 2Test Setup Photos 2000-04-17 00:00:00 jpeg
conduction setup photo 1Test Setup Photos 2000-04-17 00:00:00 jpeg
user manual 13Users Manual 2000-04-17 00:00:00 jpeg
user manual 12Users Manual 2000-04-17 00:00:00 jpeg
user manual 11Users Manual 2000-04-17 00:00:00 jpeg
user manual 10Users Manual 2000-04-17 00:00:00 jpeg
user manual 9Users Manual 2000-04-17 00:00:00 jpeg
user manual 8Users Manual 2000-04-17 00:00:00 jpeg
user manual 7Users Manual 2000-04-17 00:00:00 jpeg
user manual 6Users Manual 2000-04-17 00:00:00 jpeg
user manual 5Users Manual 2000-04-17 00:00:00 jpeg
user manual 4Users Manual 2000-04-17 00:00:00 jpeg
user manual 3Users Manual 2000-04-17 00:00:00 jpeg
user manual 2Users Manual 2000-04-17 00:00:00 jpeg
user manual 1Users Manual 2000-04-17 00:00:00 jpeg
id labelID Label/Location Info 2000-04-17 00:00:00 jpeg
test reportTest Report 2000-04-17 00:00:00 pdf
total view of antennaInternal Photos 2000-04-17 00:00:00 jpeg
solder view of antenna connecting boardInternal Photos 2000-04-17 00:00:00 jpeg
component view of antenna connecting boardInternal Photos 2000-04-17 00:00:00 jpeg
solder view of rf boxInternal Photos 2000-04-17 00:00:00 jpeg
component view of rf boxInternal Photos 2000-04-17 00:00:00 jpeg
rear view of rf boxInternal Photos 2000-04-17 00:00:00 jpeg
front view of rf boxInternal Photos 2000-04-17 00:00:00 jpeg
solder view of main boardInternal Photos 2000-04-17 00:00:00 jpeg
component view of main boardInternal Photos 2000-04-17 00:00:00 jpeg
internal view of eutInternal Photos 2000-04-17 00:00:00 jpeg
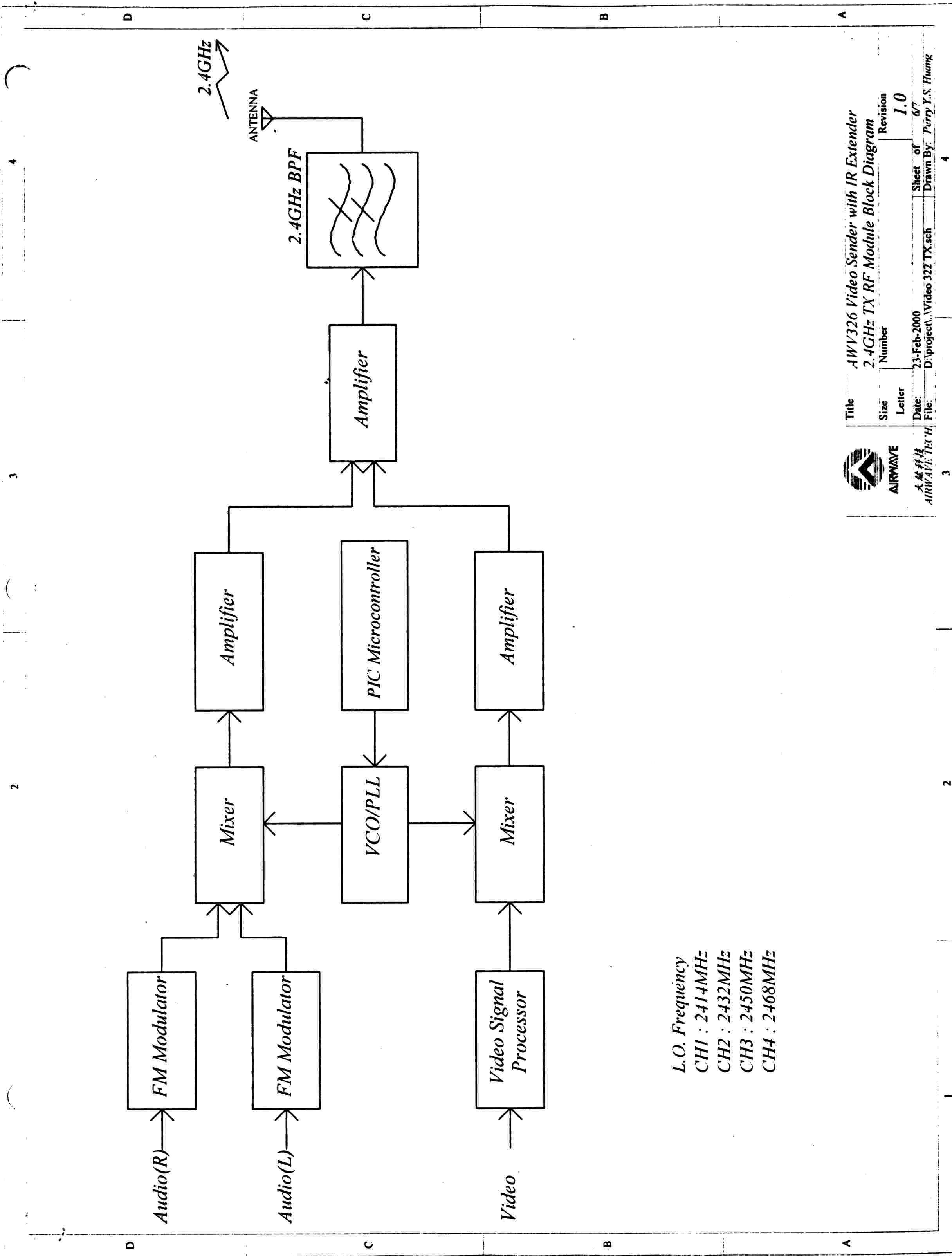
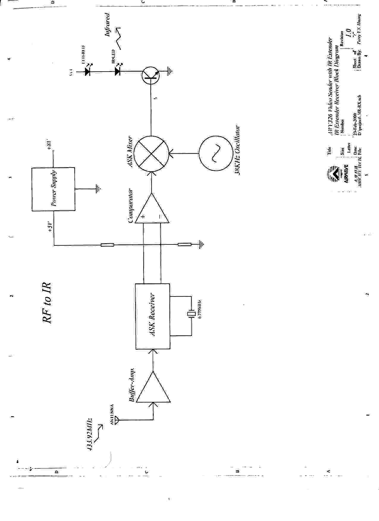
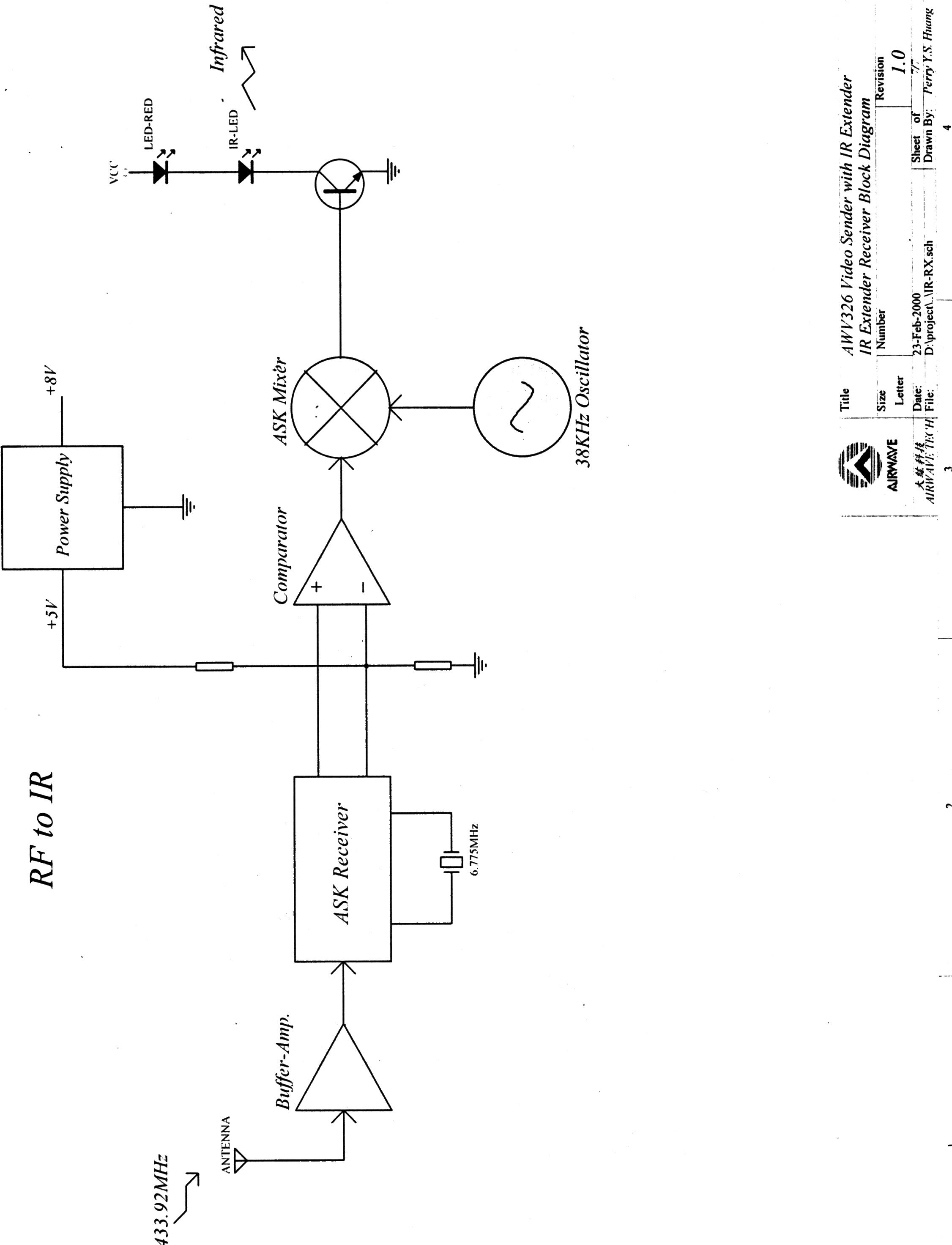
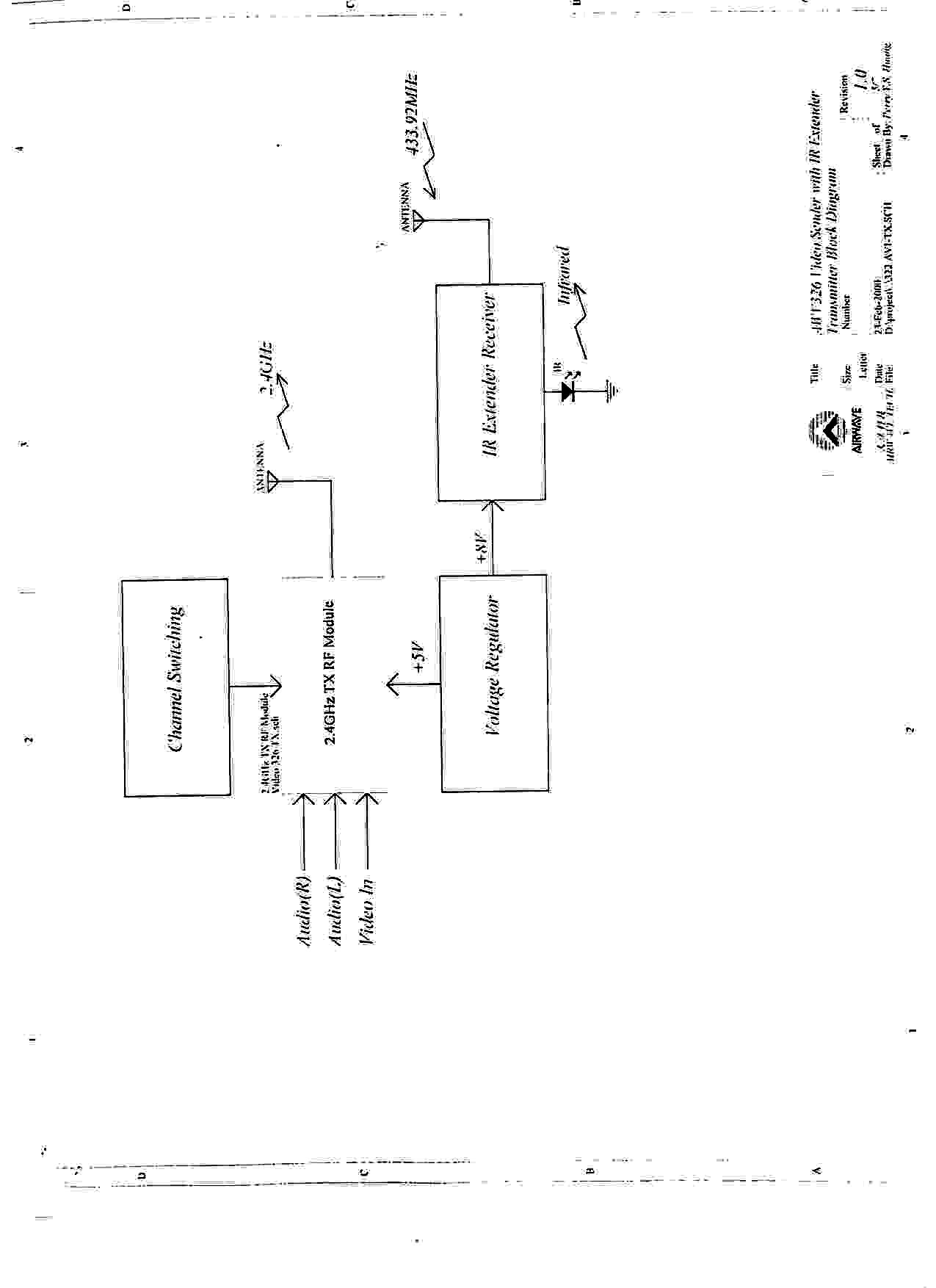
block diagram 4Block Diagram 2000-04-17 00:00:00 jpeg
block diagram 3Block Diagram 2000-04-17 00:00:00 jpeg
block diagram 2Block Diagram 2000-04-17 00:00:00 jpeg
block diagram 1Block Diagram 2000-04-17 00:00:00 jpeg
blcok diagram 7Block Diagram 2000-04-17 00:00:00 jpeg
blcok diagram 6Block Diagram 2000-04-17 00:00:00 jpeg
blcok diagram 5Block Diagram 2000-04-17 00:00:00 jpeg
blcok diagram 4Block Diagram 2000-04-17 00:00:00 jpeg
blcok diagram 3Block Diagram 2000-04-17 00:00:00 jpeg
blcok diagram 2Block Diagram 2000-04-17 00:00:00 jpeg
blcok diagram 1Block Diagram 2000-04-17 00:00:00 jpeg

Application Details:

EquipmentA/V TX Remote Control
FRN0008778128
Grantee CodeNGV
Product CodeAWV326R
Applicant BusinessAirwave Technologies Inc
Business Address4F, No 9, Industry E. Rd. IX Science-Based Industrial Park, Hsinchu,N/A Taiwan
TCB Scope
TCB Email
ApplicantTzu-Hung Chen – President
Applicant Phone
Applicant Fax886 3 577-8199
Applicant Email[email protected]
Applicant MailStop
Test FirmElectronics Testing Center, Taiwan
Test Firm ContactWill Yauo
Test Firm Phone
Test Firm Fax886-3-3280034
Test Firm Email[email protected]
Certified ByJEFF CHUANG – EMI ENGINEER

© 2026 FCC.report
This site is not affiliated with or endorsed by the FCC