I54-06301

FCC ID

Equipment:

Tiger Electronics Inc -06301

980 Woodlands Parkway, Vernon Hills, IL 60061 United States

Application
Frequency Range
Final Action Date
Granted
FF07PGXZAslQKyNDqb/beQ==
26.96-27.28
2000-03-17
APPROVED
File NameDocument TypeDateDirect
ManualUsers Manual 2000-03-17 00:00:00 pdf
Rear internal photoInternal Photos 2000-03-17 00:00:00 pdf
Front internal photoInternal Photos 2000-03-17 00:00:00 pdf
Photo with FCC ID labelID Label/Location Info 2000-03-17 00:00:00 pdf
External photoExternal Photos 2000-03-17 00:00:00 pdf
User manualUsers Manual 2000-03-17 00:00:00 jpeg
BandwidthTest Report 2000-03-17 00:00:00 jpeg
Equipment listTest Report 2000-03-17 00:00:00 pdf
Test reportTest Report 2000-03-17 00:00:00 pdf
SchematicsSchematics 2000-03-17 00:00:00 jpeg
Parts listParts List/Tune Up Info 2000-03-17 00:00:00 jpeg
FCC ID LabelID Label/Location Info 2000-03-17 00:00:00 jpeg
Appointment letterCover Letter(s) 2000-03-17 00:00:00 jpeg
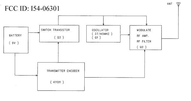
Block diagramBlock Diagram 2000-03-17 00:00:00 jpeg
AttestationAttestation Statements 2000-03-17 00:00:00 jpeg

Application Details:

EquipmentToy Radio Controlled Vehicle
FRN0006061345
Grantee CodeI54
Product Code-06301
Applicant BusinessTiger Electronics Inc
Business Address980 Woodlands Parkway , Vernon Hills,Illinois United States 60061
TCB Scope
TCB Email
ApplicantThomas Tam – Project Manager
Applicant Phone
Applicant Fax852 2725-0328
Applicant Email
Applicant MailStop
Test FirmHong Kong Standards & Testing Centre Ltd.
Test Firm ContactWilson Wong
Test Firm Phone
Test Firm Fax852-2664-4353
Test Firm Email[email protected]
Certified ByPatrick Wong – EED Manager

© 2026 FCC.report
This site is not affiliated with or endorsed by the FCC