Toggle navigation
FCC.report
IBFS
ELS
FCC ID
Contact
About
HAP90293T27
FCC ID
Equipment:
Echo Toys Ltd 90293T27
Room 1108, Peninsula Centre 67 Mody Road, Tsim Sha Tsui East, Kowloon, N/A N/A Hong Kong
FCC.report
›
FCC ID
›
Echo Toys Ltd
›
HAP90293T27
Application
Frequency Range
Final Action Date
Granted
joojQWRMfSo8eFWybBt1oA==
26.96-27.28
2000-08-29
APPROVED
File Name
Document Type
Date
Direct
Clearer bandwidth plot
Test Report
2000-08-29 00:00:00
jpeg
Revised radiated emissions report with correct limit of fundamental freq
Test Report
2000-08-29 00:00:00
pdf
PCB bottom view
Internal Photos
2000-08-29 00:00:00
jpeg
PCB top view
Internal Photos
2000-08-29 00:00:00
jpeg
Operational Description
Operational Description
2000-08-29 00:00:00
pdf
Antenna vertical
Test Setup Photos
2000-08-29 00:00:00
jpeg
Antenna horizontal
Test Setup Photos
2000-08-29 00:00:00
jpeg
For frequencies under 30MHz
Test Report
2000-08-29 00:00:00
pdf
For frequencies above 30MHz
Test Report
2000-08-29 00:00:00
pdf
Schematics
Schematics
2000-08-29 00:00:00
jpeg
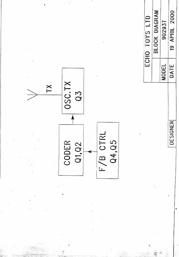
Block diagram
Block Diagram
2000-08-29 00:00:00
jpeg
Bottom view
External Photos
2000-08-29 00:00:00
jpeg
Top view
External Photos
2000-08-29 00:00:00
jpeg
Label location
ID Label/Location Info
2000-08-29 00:00:00
jpeg
ID Label
ID Label/Location Info
2000-08-29 00:00:00
jpeg
Application Details:
Equipment
X-Board
FRN
0006267157
Grantee Code
HAP
Product Code
90293T27
Applicant Business
Echo Toys Ltd
Business Address
Room 1108, Peninsula Centre 67 Mody Road, Tsim Sha Tsui East, Kowloon,N/A Hong Kong
TCB Scope
TCB Email
Applicant
Oliver Chan – General Manager
Applicant Phone
Applicant Fax
852 2665-4068
Applicant Email
Applicant MailStop
Test Firm
International Elect. Cert. Centre
Test Firm Contact
Clement Li
Test Firm Phone
Test Firm Fax
852-2756-4480
Test Firm Email
[email protected]
Certified By
Elvin K. B. – Director
© 2026 FCC.report
This site is not affiliated with or endorsed by the FCC