Toggle navigation
FCC.report
IBFS
ELS
FCC ID
Contact
About
HAP604253
FCC ID
Equipment:
Echo Toys Ltd 604253
Room 1108, Peninsula Centre 67 Mody Road, Tsim Sha Tsui East, Kowloon, N/A N/A Hong Kong
FCC.report
›
FCC ID
›
Echo Toys Ltd
›
HAP604253
Application
Frequency Range
Final Action Date
Granted
JUzNLJ6O2HGma7hAx4fsmA==
26.96-27.28
2000-06-09
APPROVED
File Name
Document Type
Date
Direct
PCB top view
Internal Photos
2000-06-09 00:00:00
jpeg
PCB bottom view
Internal Photos
2000-06-09 00:00:00
jpeg
users manual
Users Manual
2000-06-09 00:00:00
pdf
antenna vertical
Test Setup Photos
2000-06-09 00:00:00
jpeg
antenna horizontal
Test Setup Photos
2000-06-09 00:00:00
jpeg
under 30MHz
Test Report
2000-06-09 00:00:00
pdf
above 30MHz
Test Report
2000-06-09 00:00:00
pdf
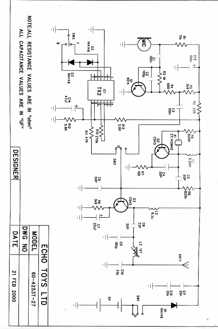
Schematics
Schematics
2000-06-09 00:00:00
jpeg
Block Diagram
Block Diagram
2000-06-09 00:00:00
jpeg
External top view
External Photos
2000-06-09 00:00:00
jpeg
External bottom view
External Photos
2000-06-09 00:00:00
jpeg
Label Location
ID Label/Location Info
2000-06-09 00:00:00
jpeg
ID Label
ID Label/Location Info
2000-06-09 00:00:00
jpeg
Application Details:
Equipment
Toy Remote Control
FRN
0006267157
Grantee Code
HAP
Product Code
604253
Applicant Business
Echo Toys Ltd
Business Address
Room 1108, Peninsula Centre 67 Mody Road, Tsim Sha Tsui East, Kowloon,N/A Hong Kong
TCB Scope
TCB Email
Applicant
Oliver Chan – General Manager
Applicant Phone
Applicant Fax
852 2665-4068
Applicant Email
Applicant MailStop
Test Firm
International Elect. Cert. Centre
Test Firm Contact
Clement Li
Test Firm Phone
Test Firm Fax
852-2756-4480
Test Firm Email
[email protected]
Certified By
Elvin K. B. – Director
© 2026 FCC.report
This site is not affiliated with or endorsed by the FCC