FKD46AK296

FCC ID

Equipment:

Monterey International Corporation 46AK296

No.28, Wu-Chun 6 th RD., Wu-Ku IND. PARK, Taipei Hsien, N/A N/A Taiwan

Application
Frequency Range
Final Action Date
Granted
rQBuRFMAYH8OpxJ537kJSQ==
-
2000-11-01
APPROVED
File NameDocument TypeDateDirect
User Manual Page 2 of 2Users Manual 2000-11-01 00:00:00 jpeg
User Manual page 1 of 2Users Manual 2000-11-01 00:00:00 jpeg
Setup PhotosTest Setup Photos 2000-11-01 00:00:00 pdf
Test ReportTest Report 2000-11-01 00:00:00 pdf
Internal PhotosInternal Photos 2000-11-01 00:00:00 pdf
FCC ID label format and locationID Label/Location Info 2000-11-01 00:00:00 pdf
External PhotoExternal Photos 2000-11-01 00:00:00 pdf
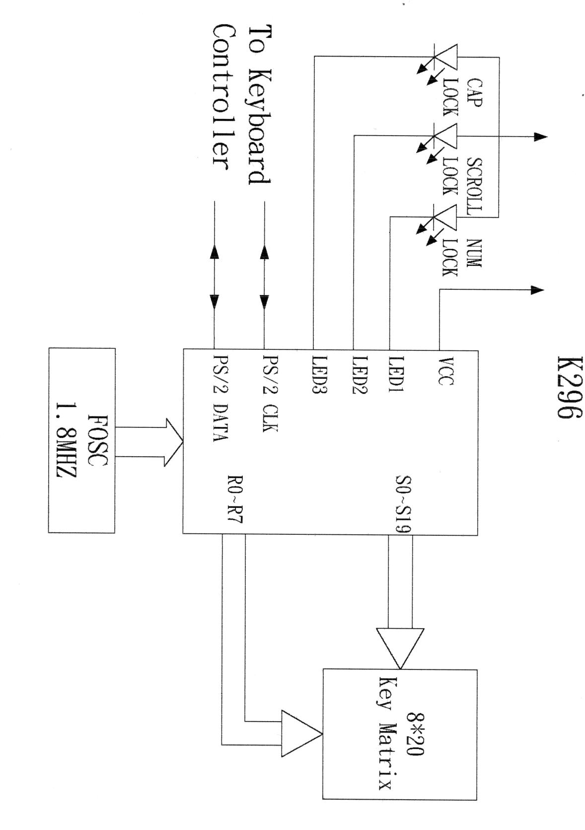
Block DiagramBlock Diagram 2000-11-01 00:00:00 jpeg

Application Details:

EquipmentKeyboard
FRN0007486145
Grantee CodeFKD
Product Code46AK296
Applicant BusinessMonterey International Corporation
Business AddressNo.28, Wu-Chun 6 th RD., Wu-Ku IND. PARK , Taipei Hsien,N/A Taiwan
TCB ScopeA1: Low Power Transmitters below 1 GHz (except Spread Spectrum), Unintentional Radiators, EAS (Part 11) & Consumer ISM devices
TCB Email[email protected]
ApplicantWilliam kao –
Applicant Phone
Applicant Fax886-2-8990-4930
Applicant Email[email protected]
Applicant MailStop
Test FirmCompliance Engineering Services
Test Firm ContactSteve Hsu
Test Firm Phone
Test Firm Fax
Test Firm Email
Certified ByRick Yeo – EMC Manager

© 2026 FCC.report
This site is not affiliated with or endorsed by the FCC