E5A-ADMP2

FCC ID

Equipment:

Printronix Inc -ADMP2

15345 Barranca Parkway, Irvine, CA 92618 United States

Application
Frequency Range
Final Action Date
Granted
6CPSZjt7y18Hw3iOTuU4Bg==
902.0-928.0
2005-10-06
APPROVED
File NameDocument TypeDateDirect
Users Manual 3Users Manual 2005-10-06 00:00:00 pdf
Users Manual 2Users Manual 2005-10-06 00:00:00 pdf
Users Manual 1Users Manual 2005-10-06 00:00:00 pdf
Test Setup PhotosTest Setup Photos 2005-10-06 00:00:00 pdf
Test Report 2Test Report 2005-10-06 00:00:00 pdf
Test Report 1Test Report 2005-10-06 00:00:00 pdf
RF Exposure InfoRF Exposure Info 2005-10-06 00:00:00 pdf
Operational Description 2Operational Description 2005-10-06 00:00:00 pdf
Operational Description 1Operational Description 2005-10-06 00:00:00 pdf
Internal PhotosInternal Photos 2005-10-06 00:00:00 pdf
ID Label 2ID Label/Location Info 2005-10-06 00:00:00 pdf
ID Label 1ID Label/Location Info 2005-10-06 00:00:00 native
External PhotosExternal Photos 2005-10-06 00:00:00 pdf
Response 2Cover Letter(s) 2005-10-06 00:00:00 pdf
Response 1Cover Letter(s) 2005-10-06 00:00:00 pdf
Response 1 rev 2Cover Letter(s) 2005-10-06 00:00:00 pdf
FCC Conf SL 5Cover Letter(s) 2005-10-06 00:00:00 pdf
FCC Conf SL 5 rev 2Cover Letter(s) 2005-10-06 00:00:00 pdf
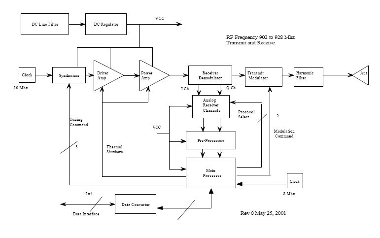
Block Diagram 2Block Diagram 2005-10-06 00:00:00 pdf
Block Diagram 1Block Diagram 2005-10-06 00:00:00 native
Schematics 1Schematics N/A
Schematics 2Schematics N/A

Application Details:

EquipmentRFID Printer
FRN0009654054
Grantee CodeE5A
Product Code-ADMP2
Applicant BusinessPrintronix Inc
Business Address15345 Barranca Parkway , Irvine,California United States 92618
TCB ScopeA4: UNII devices & low power transmitters using spread spectrum techniques
TCB Email[email protected]
ApplicantAndrew Edwards – Director, Product Development
Applicant Phone
Applicant Fax714-368-2325
Applicant Email[email protected]
Applicant MailStop
Test FirmCKC Laboratories, Inc.
Test Firm ContactSteve Behm
Test Firm Phone 2221
Test Firm Fax866 779 9776
Test Firm Email[email protected]
Certified ByMary Ellen Clayton – Report Writer

© 2026 FCC.report
This site is not affiliated with or endorsed by the FCC