DCP7FGAERPIR1

FCC ID

Equipment:

Alarm Electronics Manufacturing Co Inc 7FGAERPIR1

44 All Healing Springs Road, Taylorsville, NC 28681 United States

Application
Frequency Range
Final Action Date
Granted
zmaT0WbICAYMPwAZF1j6CQ==
303.75-304.25
2000-02-10
APPROVED
File NameDocument TypeDateDirect
BLOCK DIAGRAMBlock Diagram 2000-02-10 00:00:00 jpeg
alarm electronics statementCover Letter(s) 2000-02-10 00:00:00 jpeg
ctjc statementCover Letter(s) 2000-02-10 00:00:00 pdf
expository statementOperational Description 2000-02-10 00:00:00 pdf
rf exposure statementAttestation Statements 2000-02-10 00:00:00 pdf
component layoutInternal Photos 2000-02-10 00:00:00 jpeg
pcb bottomInternal Photos 2000-02-10 00:00:00 jpeg
pcb topInternal Photos 2000-02-10 00:00:00 jpeg
tune upParts List/Tune Up Info 2000-02-10 00:00:00 pdf
parts listParts List/Tune Up Info 2000-02-10 00:00:00 pdf
manualUsers Manual 2000-02-10 00:00:00 jpeg
OATS external photoExternal Photos 2000-02-10 00:00:00 jpeg
scan siteTest Setup Photos 2000-02-10 00:00:00 jpeg
report textTest Report 2000-02-10 00:00:00 pdf
radiated dataTest Report 2000-02-10 00:00:00 pdf
spectral plotTest Report 2000-02-10 00:00:00 jpeg
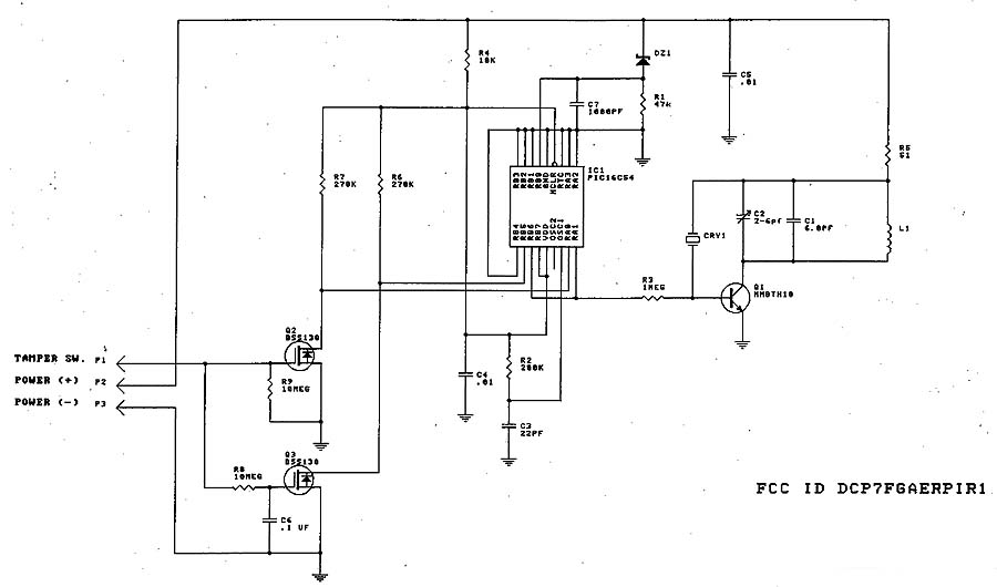
schematicSchematics 2000-02-10 00:00:00 jpeg
overall viewExternal Photos 2000-02-10 00:00:00 jpeg
label content and placementID Label/Location Info 2000-02-10 00:00:00 jpeg

Application Details:

Equipment
FRN9999999999
Grantee CodeDCP
Product Code7FGAERPIR1
Applicant BusinessAlarm Electronics Manufacturing Co Inc
Business Address44 All Healing Springs Road , Taylorsville,North Carolina United States 28681
TCB Scope
TCB Email
ApplicantEdgar L Bonner – President
Applicant Phone
Applicant Fax
Applicant Email
Applicant MailStop
Test Firm
Test Firm Contact
Test Firm Phone
Test Firm Fax
Test Firm Email
Certified ByEdgar L. Bonner – President

© 2026 FCC.report
This site is not affiliated with or endorsed by the FCC