Toggle navigation
FCC.report
IBFS
ELS
FCC ID
Contact
About
O9F97C6588409
FCC ID
Equipment:
Super Leader Industrial Limited 97C6588409
Rm 9, 5/F., Wah Sang Ind. Bldg., Block A, 14-18, Wong Chuk Yeung St., Fo Tan,, Shatin, N/A - Hong Kong
FCC.report
›
FCC ID
›
Super Leader Industrial Limited
›
O9F97C6588409
Application
Frequency Range
Final Action Date
Granted
RRuSNwomisCKAwTrez6CZQ==
49.82-49.9
2000-11-09
APPROVED
File Name
Document Type
Date
Direct
PCB bottom view
Internal Photos
2000-11-09 00:00:00
jpeg
PCB top view
Internal Photos
2000-11-09 00:00:00
jpeg
Users Manual
Users Manual
2000-11-09 00:00:00
jpeg
Antenna Vertical View
Test Setup Photos
2000-11-09 00:00:00
jpeg
Antenna Horizontal view
Test Setup Photos
2000-11-09 00:00:00
jpeg
Report result
Test Report
2000-11-09 00:00:00
pdf
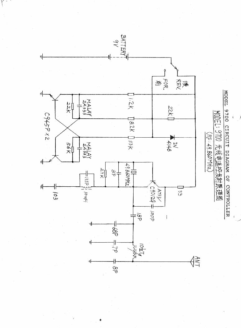
Schematics
Schematics
2000-11-09 00:00:00
jpeg
Block diagraqm
Block Diagram
2000-11-09 00:00:00
jpeg
Bottom view
External Photos
2000-11-09 00:00:00
jpeg
Top view
External Photos
2000-11-09 00:00:00
jpeg
Label Location
ID Label/Location Info
2000-11-09 00:00:00
pdf
ID Label
ID Label/Location Info
2000-11-09 00:00:00
pdf
Application Details:
Equipment
Radio Control Flip Over 2 Sided Vehicle
FRN
0007802044
Grantee Code
O9F
Product Code
97C6588409
Applicant Business
Super Leader Industrial Limited
Business Address
Rm 9, 5/F., Wah Sang Ind. Bldg., Block A, 14-18, Wong Chuk Yeung St., Fo Tan,, Shatin,N/A Hong Kong -
TCB Scope
TCB Email
Applicant
Elvin K. B. Lau – Director
Applicant Phone
Applicant Fax
[852] 2756 4480
Applicant Email
[email protected]
Applicant MailStop
Test Firm
SGS IECC Limited
Test Firm Contact
Jeffery Chen
Test Firm Phone
Test Firm Fax
852-2756- 4480
Test Firm Email
[email protected]
Certified By
Elvin K. B. – Director
© 2026 FCC.report
This site is not affiliated with or endorsed by the FCC