Toggle navigation
FCC.report
IBFS
ELS
FCC ID
Contact
About
MQDMILWT-343
FCC ID
Equipment:
Million Industrial Ltd MILWT-343
9/F, Flat A Rodeo Centre, 73-79 Larch St., Tai Kok Tsui, Kln, N/A N/A Hong Kong
FCC.report
›
FCC ID
›
Million Industrial Ltd
›
MQDMILWT-343
Application
Frequency Range
Final Action Date
Granted
pzkAt9+71cPFpy/1CfBoMQ==
49.82-49.9
2000-03-02
APPROVED
sf0FDqmQAjJtcb7ZkFTPVA==
49.82-49.9
2000-03-02
APPROVED
File Name
Document Type
Date
Direct
Photo with ID label
ID Label/Location Info
2000-03-02 00:00:00
jpeg
Manual
Users Manual
2000-03-02 00:00:00
jpeg
Bandwidth
Test Report
2000-03-02 00:00:00
jpeg
ID label
ID Label/Location Info
2000-03-02 00:00:00
jpeg
Equipment list
Test Report
2000-03-02 00:00:00
pdf
Test report
Test Report
2000-03-02 00:00:00
pdf
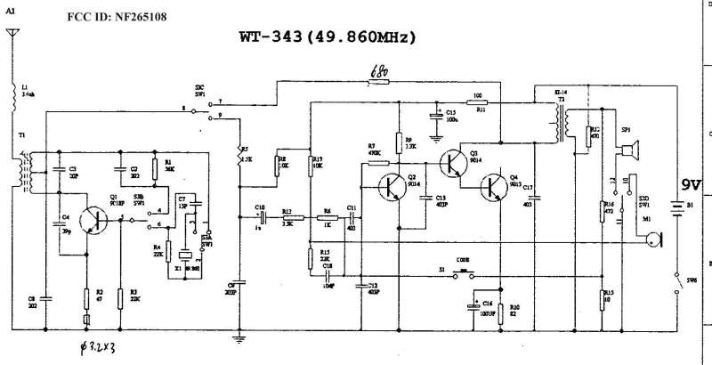
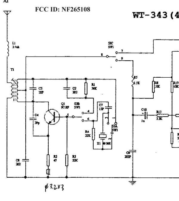
Circuit diagram part 2
Schematics
2000-03-02 00:00:00
jpeg
Circuit diagram part 1
Schematics
2000-03-02 00:00:00
jpeg
Circuit diagram
Schematics
2000-03-02 00:00:00
jpeg
Parts list
Parts List/Tune Up Info
2000-03-02 00:00:00
jpeg
Internal photo 2
Internal Photos
2000-03-02 00:00:00
jpeg
Internal photo 1
Internal Photos
2000-03-02 00:00:00
jpeg
External photo
External Photos
2000-03-02 00:00:00
jpeg
Appointment letter
Cover Letter(s)
2000-03-02 00:00:00
jpeg
Block Diagram
Block Diagram
2000-03-02 00:00:00
jpeg
Application Details:
Equipment
Walkie Talkie
FRN
0006222699
Grantee Code
MQD
Product Code
MILWT-343
Applicant Business
Million Industrial Ltd
Business Address
9/F, Flat A Rodeo Centre, 73-79 Larch St., Tai Kok Tsui, Kln,N/A Hong Kong
TCB Scope
TCB Email
Applicant
S. C. Wong – Managing Director
Applicant Phone
Applicant Fax
852 2392-8192
Applicant Email
Applicant MailStop
Test Firm
Hong Kong Standards & Testing Cen.
Test Firm Contact
Wilson Wong
Test Firm Phone
Test Firm Fax
852-2664-4353
Test Firm Email
[email protected]
Certified By
Patrick Wong – EED Manager
© 2026 FCC.report
This site is not affiliated with or endorsed by the FCC